用户名*
E-Mail*
密码*
确认密码*
忘记
忘记密码? 请输入您的电子邮件地址。 您将收到一个链接,并将通过电子邮件创建一个新的密码。
最好能有具体的案例分析数据供参考……跪求!
平时卖家们可以通过调整关键词来达到提升ROI转化率的目的,而今天这篇文章小编主要是跟大家分享一下流量大、花费大的店铺在直通车的操作过程中可能会碰到哪些问题,并且告诉大家可以怎样通过合理的操作手法来解决这些问题,从而达到有效提升店铺转化率的效果。
下面以一个淘宝C店为例,跟大家说一下如何利用直通车推广来提高店铺的转化率。
这个淘宝C店的情况:主营服饰鞋包,属于季节性的类目,这个店铺的宝贝数量相对比较少,主卖的也是几款比较大众化的宝贝,单价比较低,在没使用直通车操作之前,掌柜一直和我强调是因为产品过于大众化从而导致直通车的转化率低,那么到底是不是真的像这位掌柜说的那样呢?下面我们来进行具体的分析:
一、做好店铺直通车的情况分析
首先来看看该店铺在使用淘宝直通车推广的第一个月的情况,如下图:
从图中可看到,1个月的点击量大概在2万多,而平均每天点击量不到1000下,PPC在1块左右,也就相当于是每天花费1000左右,ROI转化率在1.11,点击转化率是0.32%,收藏成本是15.4元。
从以上的数据可以看出这个店铺主要存在两个问题,PPC和转化率的问题,那么应该要怎么做呢?
1、降低PPC,该店铺每日PPC需要1.09元,而在日投入1K的情况下,还只是达到这个数据其实是有降低空间的,说到这里,可能会有人这样问:为什么做到1块钱价格还算高呢?原因有两个,一是女装类目的PPC本来就不是很高;二是在点击量如此高的情况下,应该要先优化点击率,提升质量得分,从而降低PPC。
2、提升转化率。店铺的转化率可以说是店铺直通车操作中出现
的最严重的问题,但是该店掌柜没有仔细查找原因,忽略了直通车的精准性。
综上所述的数据中可以得出,该店铺存在的问题主要是流量基数比较大,但是都不精准,使得投入和产出不成正比,应该优化的方向是需要保证在原有流量的基础上来提升转化率,降低PPC,提升投入产出比。
二、重点讲解优化直通车步骤
1、选款很重要。该店主推的宝贝是一件皮草马甲,价位中等,该产品最大的优点是受众面比较广,但是劣势也正是因为其受众面过广而导致竞争非常激烈,该类产品一般的起量是比较多且快,加上买家的从众效应比较明显,所以,需要提前做好提升转化率,在同类产品中形成转化优势,而且该宝贝的整体拍摄视觉还不错,具有吸引力,在反季热销该宝贝的月销量在500左右,也算属于小爆款的范围。
这款商品在推出的时候就可在短时间内见到成效,并且在刚推出的时候就成交了370件,等后续再继续加大力度推广,就很容易形成一个大爆款。
2、选择关键词。常见的选词方式总结如下图:
选词最基本的策略就是结合店铺的具体情况做判断,针对主要的优化方向来进行调整,从词的精准性方面下手,下面先看看店铺原先有的转化关键词:
从上可看出,主要成交的词是在广泛词和定向,而这样的情况很容易导致竞价成本高,转化率低,尤其是对于女装类目来说,竞争的情况更加激烈,而女性消费者在购物的时候喜欢进行多家对比,所以也不一定卡在前面的就是好的,放在后面的也会有流量的,但是如果一定要卡到前面的话,那么只会导致整体的投入产出比会很低,直通车估计会亏血本儿。
所以,在制造爆款的初期,选择用大词可快速的提升流量,但转化率就相对比较低,当宝贝的销量有了一定的基数的时候,就不能再继续用这一方面了,得换另一种方法,使得流量更加精准话,才能有效提升转化率,降低PPC,下面就是本案例的优化重点,到底要怎么样优化呢?
首先,要对关键词进行调整
建议可以先减低原来卖家的主要流量来源的皮草、皮草马甲等大词的出价,将这部分的推广预算用来做精准关键词的投放,同时,以行业搜索和成交比较好的属性词作为核心,搜索相关关键词,加入更多精准关键词来弥补大词所损失的流量,这样能够保证流量的基础上,提高精准流量的占比,降低高价泛词的推广预算,达到降低PPC的目的。长尾词的优势是流量精准性比较强,所以,也会令转化率得到提升的。
其次,对关键词进行不断优化筛选。
不断的优化筛选出有利于推广的关键词,才能使得引进的流量更多更精准,建议卖家们在上新宝贝的时候,定期将每个关键词都提高一定的幅度,同时调整好投放到时间段,尽量排到前面,而上新的关键词还需要不停的出价来进行调整,一般在3天内的降价幅度不要太大,在第1天可以以10%-30%的幅度调整,在第二天和第三天的时候可以稍微向上调整,但不能太大幅度降价,这是为了防止质量得分下降。
按照此方面进行优化后,来看看效果怎么样:
从上图还可看出,主要的成交词已经发生转变,慢慢的倾向于长尾精准词了,但是还是存在很多大词的原因主要是为了保证原来的流量基础,维持店铺流量,防止下滑。
其实只要用心去做,优化直通车的过程也不会很难的,用心去分析,将每个关键词的点击率做上去,开直通车就能得到很不错的效果哦!
此外,大家还要注意一点的就是,店铺要在不同的阶段做不同的考虑,有的阶段是为了做流量,有的是为了利润,甚至有的是为了提高ROI,不同的阶段要做好不同的计划设置才能得到更好的效果。
码字不易!如果觉得回答对你有用请 疯狂点赞!感谢!关注!以支持我写作!码字不易!如果觉得回答对你有用请 疯狂点赞!感谢!关注!以支持我写作!
作者:算法博友计算机博士研究生毕业,大学讲师,专注研究淘宝搜索排序算法,淘宝数据分析。实操类目包括食品、一件代发服饰鞋包、产业带女裤等,2017年自营天猫店铺曾冲击产业带前五。
以实战为本,坚信思路比方法更重要!帮助并影响数万商家,总结梳理成中小卖家入门教材《淘宝天猫店铺运营实战》,已投入两所高校作为大学教材,欢迎联系我领取电子版!
我们都知道在相同的出价之下,质量分越高的关键词PPC会越低,想要降低PPC就必须先提高关键词的质量分。
在刚开始添加关键词的时候,建议还是要先加一些相关性高的长尾词。添加好关键词之后要注意优化宝贝的排名,提高质量分。现在已经基本上优化到了10分,9分的词也是比较少的了。
总结了几点提升质量分的方法:
转化率的影响因素很多,比如说:图片、价格、详情页的描述、销量、好评差评、客服的服务态度和回复速度、促销活动等等……这些都是我们无法控制的,所以我们需要从直通车这个途径来提升转化率。
1.投放平台的优化
因为站外的流量都是不精准的,并且站内的转化率都是高于站外的转化率,所以一般都会选择投放站内而不投站外。如今的无线端是一种趋势,优化移动端的详情页这是必不可少的,这样也可以提高无线端的转化。当然PC端也还是要注意优化的。
2.投放地域的优化
从生意参谋里可以一目了然的看到各个城市访客数和下单买家数的占比。再根据直通车后台地域的报表数据两者综合分析,这边是删选过后的投放地域。
3.人群的优化
若店铺客户群体偏中年男性的会多一点,人群定位也可以从这方面走。设置好每个人群的溢价,增加精准人群的投放,对人群进行调整,添加更加精准的受众群体,提升转化率。
1.制定符合自己店铺的营销方案,利用活动来提高客单价
像这个店铺主推的是推拉衣柜,客单价偏高利润空间是比较大的,主要主推款客单价高的产品,所以店铺客单价很明显的整体就提升了很多。
2.可以利用相同属性的产品来进行关联营销
比如说:满减满送等等,抓住买家的购买心理这也是最有效。提高客单价的方法之一。
3.一个优秀的客服可以为店铺带来更高的销量
培训好客服提高客服的专业知识,在合适时机能把关联产品推荐给客户引导下单。所以说客服也是影响客单价的重要因素之一。
4.维护老客户
店铺有优惠活动或是有什么重要事情可以发短信给老客户,抓住这一部分的群体也是可以提高店铺客单价的。
具体提升数据对比:
当然有的时候适当的进行提升或是降低花费也是一个可以提升roi的方法,一天的花费比较多的,花费上面是要控制好。现在整体ppc在0.85元。所以一般到下午或是晚上的时候就会提前下线,所以有的成交的词得不到很好的发挥。
1.开车过程中我们要维护好优质的关键词。这样直通车的点击率也会得到提升,PPC也会随之下降,ROI会相应的提升。
2.直通车是一个增加店铺流量的推广方式。流量引进来了,是否能转化为成交,主要还是要看店铺和宝贝本身的情况。所以自身的内功要做足才能达到更好的ROI。
3.店铺要明确自己定位。找准店铺的客户群体、店铺风格等等。把人群做好这样才能更好的提升ROI。
4.款式要选择好。不好的产品可以暂停掉。推广优势利润比较大的产品。
(1)、如果是主要的引流词转化率差的情况,可以根据关键词的转化率来减少出价,以有效的引流成本调整到合理的展现页面,尽量做到低成本引流。
(2)、如果是主要的引流词转化率一般的情况,能带来成交的关键词,那么,我们可以通过提高关键词的质量分,来降低它的成本从而提高ROI的投资回报率 。
想要提高质量分前,首先看下这些关键词最近几天的点击数据分析。如果展现量高,点击率低的话,那么可以改变关键词的匹配方式,调整至精确的匹配,降低无效展现,从而提高点击率。
如果这个词点击率已经很高了,关键词的质量分也很高了,只是这个关键词竞争比较激烈,点击价格一直很高,那想平衡ROI投资回报率,只能降低它的引流成本,根据产品的转化率调整出价,让它停留在合理的展现位置上。如果是单独建个移动端的计划,用当前引流成本较低的移动端给转化能力还不错的关键词引流。
(3)、如果是有收藏或者偶尔有转化的关键词,我们可以降价这些关键词的出价,然后进行观察,对于没有。收藏或转化的关键词,我们可以直接降低出价,以较低的价格做引流。
(1)、先分析转化率低的关键词,如果它们都有相同的特征,那么降低关键词的出价,减低成本。同时做好宝贝页面的相互关联,让流量在店铺其它页面消化。
(2)、如果关键词的点击量的基数很大的话,是主要的引流词,如果转化率不行,那可能是因为竞争环境的原因,此时可以降低引流成本,调价至后两页,选择合适的竞争环境提高转化。同时做好落地页关联和购物路径,让流量在店铺其它页面消化。
(3)、如果关键词的点击数一般的话,都是是辅助的引流词,判断不出关键词的转化能力,那我们需要多观察一下历史数据。这些关键词点击量一般很高,又有收藏率的话,我们可以给予适当的调价,提高这些词的展现量。如果经过一段时间,这些关键词的点击量不多,收藏率也不高的话,那么可以根据需求,降低这些关键词的引流成本或者是删除这些关键词。
大家好!我是司空。
或许,很多新手朋友还不太清楚ROI是什么?在这里呢,我先解释一下ROI意指投入产出比。
清楚了ROI是什么意思之后,我们再来看看淘宝卖家如何提高直通车ROI?
一、首先,我们要搞清楚一点,就是新手卖家在刚刚开始开直通车的时候,实际上是谈不到ROI的。
为什么?
要知道于大部分新手卖家来讲,都是刚接触直通车的,感觉花了几百元却没有得到预想的销量,这个时候,他们就非常着急,心想“直通车为什么是这个样子?网上不是说一开就能做起来吗?”等等之类的;然后呢,就想知道直通车ROI怎么去做呢。
而我为什么要说这些新手卖家在刚刚接触到直通车时,是谈不到ROI呢?其实是因为新手卖家在最初开始开直通车时,首要,要做的是获取流量,因为只有获取到流量后,直通车整个的数据才能跑起来;而这也正是为什么最开始没有销量的原因。其次,就是提升直通车账户权重、关键词质量得分;因为只有权重起来了,质量得分起来,流量才能起来。
二、新手卖家什么时候谈ROI才合适呢?
当,直通车数据跑起来了之后。
三、那么,新手卖家又该如何去提高直通车ROI呢?
很简单。
首先,新手卖家一定要记住,无论任何事,在行动之前,一定要先将其了解清楚,整个行动思路捋清楚;因为只有这样,才能做到整个过程中都是明明白白的。所以,在开直通车前,一定要把整个思路捋清楚。清楚之后,就会发现,整个直通车其实一点都不能难。
究竟怎么去提高直通车ROI呢?
第一个方法:分时投入比例调整。
什么意思?
举个栗子 :我现在在开直通车,开的时间是早上8点到晚上10点,开14个小时。
那么在这14个小时里,我就需要去分析两个问题:
1、哪个时间段的ROI是比较高的?
2、哪个时间段的ROI是比较低的?
假设,早上8点到早上10点左右的这个时间ROI是比较低的,那么在这个时间段,我就可以把“分时比例”给它调到80%到70%之间;简单的讲,就是要限制我的流量。
为什么?因为针对投入产出比比较低的,如果不进行减少投入,就意味着我在做无用功。要知道,之所以开直通车,不就是为了更多流量,更多销量。另外,作为一个新手卖家还要知道,于ROI本身而言,就是会限制获取流量的,于我们原本想获取流量是完全冲突的,所以在这个情况下,你只能减少投入,也就是限制流量,来提高投入产出比,提高销量。所以我要在这个时段减少我的投入。
而晚上8点到晚上10点的这个时间ROI是比较高的,那么在这个时候,我就可以把“分时比例”给它调到110%到120%之间;因为在这个时段,我要去获取更多的流量,获得更高的投入产出比。
所以第一个提高直通车ROI的方法就是,要去分析,我们投放的时间段里,哪个时间段的ROI是比较低的,哪个时间段的ROI是比较高的,然后在分时里给出相应的投入比例调整。
第二个方法:区域投入调整。
举个栗子 :我在卖羽绒服,分析之后,除了海外、偏远(西藏、新疆)这些地区不能投之外,还发现广东和广州这两地区是处于炎热状态,投入产出比也是比较低的,那么这两个地区,就不能投了;你想啊,人家都处于炎热的状态了,还买什么羽绒服, 所以,在区域投入里,就要将这个两个地区去掉。然后,还发现北京这个区域是比较冷的,投入产出比也是比较高的,那么,针对这个区域,就要加大投入。
第三个方法:宝贝投入调整。
举个栗子 :直通车里面开了10个宝贝,分析之后,发现其中有4个宝贝ROI特别的低,那么,就可以不开这个4个宝贝了,只开剩余ROI较高的6个宝贝。
第四个方法:关键词投入调整。
举个栗子 :直通车里面开了50个关键词,分析之后,发现只有15个关键词的ROI还可以。其他的35个关键词ROI都特别特别的低,那么在这个时候,就可以不投这35关键词了。
——本次的解析到这就里就结束了,感谢大家的阅读。
淘宝创业初期或多或少都会遇到一些问题
如果有什么疑问或补充的,欢迎留言评论或私信交流
外面的世界真精彩,但日子总得要过,做掌柜的每日必关注2件事,一是昨日的店铺销售额,二是直通车的ROI,毕竟是花出去自己的钱,想知道能回收多少,但现在摆在大家眼前的更多的是白花花的流水,却冒着丁点的泡,心中无数股寒流流淌。
ROI= 销售额/花费=转化率*客单价/PPC
那么从公式中,我们看就可以直观的看到影响ROI的是转化率,客单价 及PPC
一般店铺的客单价是比较稳定的因素,只有到了换季的节点,才会出现幅度的增涨。
所以要想提高ROI,我们先不妨提高单品转化率及降低单次点击PPC
1、提升ROI的所处阶段;2、投放平台;3、投放时间;4、投放地域;5、创意标题;6、创意车图;7、关键词思路;8、匹配方式;9、搜索人群。
提升ROI的阶段,适用于产品爆发期到衰弱期,所推广的产品有一定的销量积累,也是到了账户要收割的季节。因此在此阶段,应着重提升ROI的提升。
在提升ROI的时候,投放平台应尽量选择转化较好的渠道,冲销量阶段打开很多推广形式,站外推广定向推广,发现其转化率和ROI明显较低时,应果断关闭该渠道,而留下其他高转化高ROI的渠道平台。
从直通车生意参谋去看全店转化率高的时间段,高ROI的时段提高分时折扣,低ROI的时间段,降低分时折扣,或直接关闭不投放。
在投放地域方面,我们应根据计划报表的累积地域数据和主要成交词的流量解析里面,找出高转化高ROI的地域,从而进行投放,同时关闭低转化低ROI的地域。
在创意标题方面,我们应尽可能的把成交关键词放到创意标题中,以提高成交词的相关性。取代非成交词在创意标题中所占用的位置。
在创意车图方面,我们应最大限度的利用好四个创意图。分别可针对买家关注的卖点进行相应的制作车图,从而达到提升转化和ROI。买家最关注的卖点往往可以通过评语找出。
在关键词优化思路方面,我们应对现有的成交词进行拓展延伸,加入更多的与成交词匹配度较高的其他拓展词。另外,我们可以从生E经生意参谋后台找到其他搜索成交词,一并加入到计划中,以增加成交词的比重,从而达到提升转化和ROI,直接删除非成交词。
前期:主要是对宝贝进行引流,通过对宝贝关键词行业的分析,对行业趋势呈现上升的关键词进行优化,逐步为其引进流量;同时也通过宝贝的人群搜索这些途径为宝贝引流;账户的流量逐步进来了之后,账户的ppc有逐步上升的趋势,主要是宝贝的点击率相对较低;
中期:宝贝的流量进来之后,就考虑到宝贝的点击率这方面了。大家都知道,只有宝贝的点击率上去了,关键词的质量得分才能上去了,同时ppc才能逐步下降的。这边结合宝贝的数据反馈,针对宝贝中点击率高的关键词进行优化;同时也通过对点击率高的关键词进行分析,对宝贝的创意标题进行修改,并对不同类型的图片进行测试,直到宝贝的点击率上升为止。
后期:宝贝的点击率上升了,接下来就是要维持好宝贝的点击率,这样才能让账户更加好。这不仅仅是对关键词进行了优化,同时要对账户个方面的数据进行分析,比如账户的地域报表、站内站外、移动端等多方面的数据,并结合这些数据,对账户做进一步的调整。
我觉得开淘宝店的人,一定要有一个互相交流学习的圈子,不管是获取最新的行业动态,还是最新的操作方法,交流和学习都必不可少。如果只是一个人闷头做,是很难把淘宝店做好的,为此我建了一个群:753,574,492。这个群里都是学习电商的人,有很多人和你交流店铺运营经验,也有大牛每天分享店铺运营技巧,不需要你付出什么,只要你是真心想学习的就足够了。
在关键词匹配方式上,我们应根据关键词的具体表现做出相应的合理设置。维持ROI的同时控制点击率。因为点击率是维持PPC的关键。
搜索人群方面,相信对搜索人群研究颇深的车手应该非常明白,搜索人群对于提升ROI会起着极其重要的作用。搜索人群也是提升账户ROI最直接有效的工具,根据对高ROI的人群标签进行高溢价,对低ROI的人群标签低溢价甚至不溢价的方式,可以快速的提升ROI。
因为我们都知道,搜索人群中的成交高精准人群,无论是从点击率还是转化率都会比普通点击的买家有着更高更好的表现。
看到这里,大家基本上已经知道影响ROI的基本因素。降低ppc的过程中一定要尽可能的维持点击率,同时优化产品自身,详情页、DSR、评价、客单价等,稳定宝贝的一个转化率。
直通车是我们淘宝的付费推广工具,如果使用得当那么是能够帮助我们去快速帮助店铺发展的,相反使用不当那么就是劳财伤身了。所以怎么去开好车,怎么成为老司机是你 在开车之前必须 要懂的,首先从直通车ROI的定义出发,以此来研究怎么去提升ROI。
直通车ROI的定义是:投资回报,也就是投入产出比(以下公式应用数据是直通车数据,大家不要拿店铺数据来进行推算)
ROI= 销售额/花费=转化率*客单价/PPC(平均点击单价)
那么从公式中,我们看就可以直观的看到影响ROI的是转化率,客单价及PPC,一般店铺的客单价是比较稳定的一个因素,只有到了换季的节点,才会出现幅度的增涨所以要想提高ROI,我们先不妨提高单品转化率及降低单次点击PPC
1. 你的店铺/产品详情是否到位,能否让消费者产生购买的欲望
2. 产品详情解说的全面的吗?我们发现被解说的越全面的单品转化率要高于一简而过,比较简单详情的单品
3. 有促销噱头吗 ?有让客户觉得现在下单是最合适的吗
4. 第一线工作岗位客服对产品是否专业,服务态度是否热情,
5. 超棒的客户体验,产品质量过硬,不然隔三差五的出现差评,能力在强的运营也顶不住
6. 商品吸引力:产品需求度、价格优势、产品描述、促销/营销/礼品、、、种种的吸引力,都是以营销为中心,营销做的好,客户跑不了
7. 流量质量:[流量来源:口碑客户、搜索引擎、站外,流量质量,代表着你的流量是从什么地方来的,导致你的转化不成功的因素之一
8. 品牌程度:产品品牌、企业品牌、网红品牌。这三大块,是指你的品牌程度,是去到什么位置。品牌展现,可以解除买家对产品的保障问题,这就要你把品牌的硬实力展现给消费者,让消费者得知才能更放心的支付成交了
PPC即直通车平均点击单价,是由关键词被搜索,被点击产生的一种花费. 那么我们可以这样理解,关键词搜索代表着消费者的需求,成交关键词代表符合消费者的最终目标,那么如何选款,选什么样的词也就直接决定了我们的PPC与ROI,当然影响PPC还有其他很多因素
如何选词呢,选词的常用方法与路径已经毫无秘密所言,这个选词的文篇随处一搜都有一大把,这里就大致列几点比较实用的方法:
1. 列出商品关目的相关关键词
2. 针对商品属性词进行组合
3. 直通车系统推荐词及搜索词
可以利用EXCEL表格进行组合,选择适用自己产品的精准词,这样不但有利于避开激烈竞争外还有利于培养账户权重,选款的方法比较习惯用的是,经验选款,行业选款,数据选款,但无论怎么选款,最终定款是需要几项数据支撑的.
点击量:点击量多少代表宝贝花钱的一种能力,直通车的本身就是花钱引流,钱花出去,流量也就来了,有流量了才会有后面的故事!
点击率:反映了买家对这款产品的兴趣度,点击率越高的产品更加容易获得点击量.点击转化率:反馈的是消费者对这款产品的认可度,转化越高的产品得到的推广反馈数据也是越优秀的,也会更加容易成功,达到事半功倍的效果
如何优化推广中的关键词:
1.展现量少,点击率高的词,提高出价
2.展现量大,点击率低的词,质量分高的词降低出价
3.删除7天无展现,14天无点击量的词从点击反馈上优化关键词
4.点击转化率高,ROI高的词提高出价
5.点击转化率一般,ROI偏低,降低出价,保证ROI盈亏平衡
6.点击转化率长时间为0时,删除关键词
1. .什么样的词抢首屏? 抢首屏的词一定具备,高点击,高转化
2.什么PPC价位,才能够保得住ROI?什么点击转化率水平,可以出高价抢第一页?(产品利润10元,点击花费1元,单品转化10%)这个公式刚好不亏本,大家可以根据自己的实际情况参考公式进行出价。
3.理解ROI公式,找出ROI盈亏点 ,ROI=转化率*客单价/点击花费,盈亏点=客单价/毛利(产品客单价80成本20,80-20=60,80/60=1.33,ROI在1.33以上的情况下,你的直通车怎么投都是不会亏的 )
4.明确现阶段直通车目标,点击量,PPC,ROI指标?(根据以上的公式和自身的情况定计划,这里不多说)
PPC=下一名的出价*下一名的质量得分/自己的质量得分+0.01
从这里我们得到,最终影响到自己实际扣费的是关键词质量分,那么就如何提升关键词质量分就成了大家操心的问题了.
质量分由三部分组成,相关性,创意质量,买家体验
相关性:这里指的是,所推关键词与推广宝贝的相符合性,及宝贝与消费者的购物意图的匹配度,及产品与所在类目与属性的相关性,这点只要大家发布宝贝时,类目没放错,关键词不是乱添加的基本是没多大问题.
创意质量: 就是推广图片的点击率,我们在做推广图片时要注意以下几点
1. 图片清晰,主体突出 卖点明了
2. 背景简单,无过多的牛皮癣
3. 促销适中,美工时间不够或设计灵感不强的话,可以通过参考本行业的优秀创意图片,可以通过钻展智库,直通车车位首屏推广图借鉴参考.
1.养词法; 培养账户权重期推广关键词3-8个为最佳,关键词所属层级为3-4层级,同时全网的平均日点击量不低于100个
2.卡位法:在每日预算有限的情况下,做到每天在某个时间段,关键词的排位是足够靠前的
3.创意图片;轮回交替,维持2天更新创意频率保持3张创意图片在线 轮播测试,留下点击率最高的推广图
4.投放平台;前期以无线推广为主,做高点击率,养好账户权重.
5.投放时间:避开行业主搜高峰时间段,在搜索低迷期提高溢价能力,确保拿下靠前车位
6.投放地域:为了保证流量精准性高,减少不必要的花费,尽量把有限的预算花在恰当点击上,投放地域可不必过多,选取行业搜索转化率前5的省份即可.如果产品地域性较集中的话,那么屏蔽自己所在地.
以上只是给直通车新手的一些建议和方向,如果想要做好还是需要一步步的实操技能来支撑的,所以你必须 对淘宝有 一个系统的认知和操作能力。另外对于一些新手卖家,如果你前期的店铺权重,数据都没有做好,自然搜索流量几乎没有。那么不建议你 开车。效果不大。
不管是对于新手新店还是老店而言,自然搜索流量都是我们最应该重视的方向,你要记住,直通车只是一个工具,不能成为你的依赖。所以老花这些年重点研究和侧重的也都是自然搜索流量。对于学员们倡导的也是自然搜索。就好像我这个做家具的徒弟
五月份走的一直是自然搜索 和部分手淘流量。适量用淘宝客推下。基本没开车。直通车花费 为0。
六月份也是一样的自然搜索,走少量淘客。直通车花费整月 花费349。
所以各位,长点心吧(案例真实可查,都是我社群里的学员)
死磕电商十六年,打工近十二年;2012年尝试淘宝创业至今,母婴/护肤品/小家电类目卖家。2016年开始自媒体创作,向世界分享个人亲身经历、见解、知识;2016年10月拓展“电商系统培训”,以自营项目TOP50店铺的实战经验为根本,整理一套完整的、高效的淘宝实战课程,帮助淘宝卖家快速成长、少走弯路!
如果你感兴趣,可以给我私信“学习”或者“vip课程”,我会免费送你一些《VIP弟子特训课程》,相信你一定会受益匪浅。
如果你是淘宝卖家,可以加入我创建的千人卖家社群一起学习、交流、探讨(无广告);私聊我回复“社群”,即可获得入群方式!
如果觉得我的分享内容不错,敬请“赞”!“评论”!“转发”“关注”!
我总结一下几个要点:
1、店铺选款:在店铺宝贝数据反馈的基础上选择宝贝。如果条件允许,尽量分开做,便于后期操作。
2、流量提升:通过阶段性分化,一个周期一个周期来做,一步步提升流量。同时,做好其他指标的把控,不要操之过急或漫无目地优化。
3、周期性优化流量入口:根据数据反馈的店铺情况,对关键词和定向、站内、PC端和无线端等各个方面进行周期性优化,投放时间和投放地域也要周期性优化。
4、店铺直通车优化方向:采取先整体,再细化,最后回到整个店铺的优化思路,中间根据具体情况做及时处理。
我用语音输入法来回答这个问题,所以标点符号可能会有一些奇怪。我没有更多时间慢慢打字告诉大家这些干货爱信不信,听不听得懂看造化,上面是我做的数据。
我要说的这个事以下观点。
不要单纯只看直通车的roi
我现在告诉大家一个概念——全店roi
如果你认为直通车是提高roi为根本目的的话你就过于狭隘,也过于初级。
想通过直通车来盈利真的很难除非在某些毛利极高的类目。
我们的根本目的一定是通过直通车来带来更多的面,费流量。包括搜索核桃内免费其他。以及淘宝首页。
一定要认清这一点!
所以核算直通车的Roi的时候要。核算他所带来的所有的免费流量,以直通车本身带来的总的成交金额去与花费相比。
另外还有一个概念我们都知道有一天投入产出比,三天投入产出比七天头产出币15天,投入产出比。那么你想没想过,有没有。365天,投入产出比。
现在你能明白我的意思了吗?
题主的这个问题永不会过时,看了大家的回答,每个人侧重点都不同,有些内容是永不过时的,然后直通车每年更新频繁,针对优化ROI的目的,也有几个特别的更新,但这篇文章要照顾到很多小白,所以从原理和基础回答。
开车前先要明白开车的目的是什么,这是很多新人从没想过的,导致每天扣好几百,却一点效果没有,不仅没有成交,连流量也没做起来。看下图!
我们最终的目的都是希望光靠直通车就能实现盈利,但不积跬步,无以至千里。要想达到这个阶段,必须把基础打牢。
这里有个公式,可以算出ROI高于多少时,你的直通车在盈利。
明确目的是日常销售赚钱后,我们关注下ROI的公式:
要提高ROI,一是提高成交额,二是降低PPC(点击花费)。
提高成交额,与市场、产品、内功有关,这些做不好,光靠直通车不可能赚钱。
在市场、产品、内功都很优秀的情况下,我们再说直通车如果赚钱。
在提高点击率阶段,选好潜力宝贝,加入直通车后:
1.一定要先测图,80%直通车点击率起不来的原因出在车图上,一个计划单个宝贝最多测4个图,所以一般大家就测4张图,结果发现没好的,所以我建议至少16张图,测4轮,选出高于同行点击率至少1.5倍(最好2倍以上)的图片。具体测图方法,以后再说,有想提前知道的朋友私信我。
2.精准关键词选择,关键词加入直通车后,大家一定会注意到有个质量得分,质量得分关系到你的扣费,公式如下
关系到质量得分的因素有两个:
一是创意质量,二是相关性,一般我们先优化相关性,可以最快的提高质量得分。
2.1关键词最优类目是否与你的宝贝类目相符,如果不相符,相关性不可能一般低于4格,说明你的关键词最优类目与宝贝类目不符。
2.2创意标题里是否有你加进来的关键词,在类目正确的情况下,如果创意标题中没有完全包含这个关键词,它的相关性就是4格
在相关性满格的情况下,优化创意质量,与创意质量最相关的数据就是点击率,点击率超过同行2倍,并且在一定点击量的情况下,一般都会10分,甚至在相关性不满的情况下,上图就是一个案例。
3. 人群优化,现在直通车的人群丰富多样,新手没经验时建议全部相同溢价,过一段时间后,根据数据反馈,暂停点击率太低的人群。
自定义人群设置为二级标签,如图
4.地域优化,刚加入的新车,建议把偏远地区和海外去掉,其他地区都留着,收集一段时间的数据,然后看直通车报表,按点击率排序,把点击率太低的地区停掉
点击率优化完成后,再优化ROI,再回顾下导图。
最后说下扣费,并不是你出多少钱,就扣多少钱,这个大家应该都懂。
排名根据 质量得分*你的出价 这个值有关,这个值越高,排名越高
直通车最近的几次更新后,你的出价也不简单的只是你的出价了。
转化出价和抢位助手效果还不错,建议能开就打开。
大体思路就这些,其中涉及到的具体操作,无法在此一一说明,有想要沟通交流的朋友知乎私信我。
感觉有用,别忘了点赞,评论!!!
提高roi?这个问题其实问得太大了 仔细说的话 感觉篇幅太大。。。
首先你要搞清楚你的类目是什么情况 市场ppc什么情况 不是所有类目都是能做直通车的 也不是所有产品都依靠车的
你的类目市场roi如何 你的毛利多少
roi的高低代表着你的推广代价的高低 假如你的毛利是100% 那你roi做到1 那就是说明你账上基本做到不亏
依靠roi赚钱比较困难 但也不是不可能 前提是你准备做到什么规模
最后我说一句 直通车我个人认为只是一个推广工具
补充一下 你新手开车需要多看看市场是什么情况 不要直接怼 不同类目不同玩法
淘宝店做推广,掌柜的往往最关注的就是这个ROI,也就是投入产出比,每个掌柜都会去查看自己的ROI,计算自己ROI需要达到多少,我才能保证不亏本,但是直通车的ROI真的是掌柜们想象的那么简单的吗?除了最基础的计算方式之外,还有什么需要考虑进去的呢?当ROI降低的时候,我们又要做些什么工作来提高ROI呢?好了,小兴今天就来讲一讲直通车的ROI!
一、ROI的解释与意义
我们还是从原理入手,先把ROI的定义解释清楚。淘宝中的ROI是指投资回报率,也叫投入产出比。
公式:投入产出比(ROI)=总成交金额/花费。打个比方说:你花1元钱,带来10元成交,那么淘宝直通车ROI就等于10;如果你花10元钱,带来1元成交,ROI则等于0.1。
从这个公式我们可以看出,提升ROI无非两个方面,一是提升你的总成交金额,二是降低总花费。
另外容易让人忽略一点的是收藏,实际上收藏也是投入所带来的产出。今天我们没有是没有看到转化,但隔天之后,或者更久的将来这些收藏都会变成转化也说不定。最好的例子就是双十一,双十一前夕,不少账户转化是非常低的,但是收藏异常的高,这就足以证明在双十一当天一定会爆发,所以,收藏也是我们所需要关注的一个要点。
我们都知道,目前整体电商环境已远远不是以前的直通车流量红利期,想单纯靠直通车直接赢利的情况是非常困难的,也就是说ROI要做到大于盈亏点,是有相当难度的。但我们仍应不断提升ROI视为最重要的目标。因此,我们需要理性的看待直通车,而不应该认为直通车仅仅就是一个只会烧钱、只会靠卡位抢排名的工具,而是要合理有计划有理性的去提升ROI才为正道。
二、影响ROI的因素
了解了ROI的概念之后,我们就要去考虑下究竟哪些因素会影响到ROI。
CPC:关系到我们的投入
预算:关系到我们的投入
客单价:关系到我们的产出
转化率:关系到我们的产出
其实这几个因素之间也是环环相扣的,相同的流量下,CPC越高,我们的预算也需要相对应的加大才可以,当然这种情况下,如果我们的转化率和客单价高的话,ROI也可以很漂亮;客单价高的话,转化率相对会低一些,但是如果CPC低,投入低一些,ROI同样可以很好看。省油宝长尾计划,就是通过批量选取竞争不那么激烈的低价长尾词,去以更低的价格获得更多的流量,低价引流,对提升ROI有着不错的效果。如果预算有限,出价不想出的太高,或者希望开一个全店低价引流的计划来收获低价的流量,那么长尾词计划是非常好的选择。
掌柜直通车推广最不好的情况是什么呢?预算有限,CPC高,客单价低,转化率也低。这个时候我们又该怎么办呢?
三、ROI提升方法
(一)关键词优化
我们将关键词进行简单的分类:
低展现、高点击率的词;
低展现、高转化率(高ROI)的词;
高展现、低点击率的词;
高展现、低转化率(低ROI)的词;
过去3天无展现的关键词;
过去7天无点击的关键词;
过去15天有点击无收藏花费较大的关键词
然后针对性的进行调整,
1.提高出价
2.降低出价或者将匹配方式改为精准匹配
3.直接删除
(二)投放时间优化
大部分类目来看的话,下午3点前后和晚上7到10点左右是高转化时间段。
当然,我们应该具体类目具体分析,通过分析生意参谋的热门成交时间段,或根据主要成交词的高转化时间段,做好分时折扣的人工优化。高转化的时段提高分时折扣,低转化的时间段,降低分时折扣,或直接关闭不投放。
(三)投放地域优化
(四)搜索人群
搜索人群是提升账户ROI最直接有效的工具,根据对高ROI的人群标签进行高溢价,对低ROI的人群标签低溢价甚至不溢价的方式,可以快速的提升ROI。因为我们都知道,搜索人群中的成交高精准人群,无论是从点击率还是转化率都会比普通点击的买家有着更高更好的表现。
(五)投放平台
投放平台应尽量选择转化较好的渠道,例如,当在冲销量阶段所打开的站外推广或定向推广,发现其转化率和ROI明显较低时,应果断关闭该渠道,而留下其他高转化高ROI的渠道平台。
(六)店铺运营
前面说了很多优化直通车的点,当然这些都是建立在推广宝贝的基础上的。直通车在优化的同时,店铺运营也要跟上节奏。产品卖点分析、店铺活动、产品关联、客户体验、老客户维护等等方式,都对于提高转化率有很大作用。
通过以上操作,我们就可以有效降低成本,并且增加转化几率。我们不能保证ROI百分百会提升,但是好的关键词在流量提升之后,一定也会有非常棒的效果。我们的思路肯定是正确的,未来的趋势无法预见,所以我们只能去进行这样的尝试。原理就是如此简单,只是我们需要适应复杂的变化,学会举一反三,最基本的东西,其实也就是最核心的。
当然啦,具体店铺具体分析,不同阶段的直通车有不同的需求,我们也要根据店铺具体情况去优化。各个掌柜也有自身不同的需求,有的需求确实是非常矛盾的,不能够同时达到,只能一步一步完成。不要妄想着直通车有立竿见影的效果,任何广告投入都是不可能在短时期内见效。
最后,祝各位掌柜们生意兴隆
提升直通车ROI的6个方法
提升直通车ROI我们该来如何优化,有很多卖家却不知道要做什么?怎么做?优化
哪里?要做到什么样才会有效果?
今天的分享将会围绕以上的几个点来讲解,精简干货重点,简单易懂,教大家如何有效提升ROI。
一、如何有效提升直通车关键词的质量分
以往在很多直通车大神分享的帖子中都会提到,提升直通车关键词质量得分的前提是提升关键词的点击率、提升投
放素材的点击率、优化属性标题描述和创意标题及关键词的相关性。
这些直通车大神没有误导大家,分享的都是货真价实的干货。而我今天想要为大家补充一点非常关键的因素:计划
权重
计划权重:指在直通车里面创建的多项计划中,某单个计划内的权重累计。(每个计划的权重不同)
上边这个截图,就是5个权重完全不同的直通车投放计划
大家在以往的直通车操作中应该都有见到过下面这两种现象:
1、将同一个店中的同一款商品放到直通车的两个推广计划中推广,用的同一个关键词、同一个素材、同一个创意
标题。放到不同的两个推广计划里面得到的分数不一样了,有一个计划里这个词是9分、有的计划里这个词却是5
分。
2、将同样的一款商品发布到两个店铺中,编辑同样的属性、同样的详情页、同样的标题、同样的直通车创意标
题、同样的素材、同一个关键词。最终发现两个店直通车计划中的同一个词分数不一样了,一个是8分、一个是5分。
其实造成这种结果就是因为计划的质量不一样。利用计划质量来提升质量分是一个很强的直通车优化技巧。
不好意思,啰嗦了半天,精简……精简…精简.精
提升质量得分的最简单粗暴的方式就是做好推广计划的点击反馈。
点击反馈包括:点击率、点击转化率、点击产出回报率、收藏率、加购率、直接成交、间接成交
做好点击反馈,你的推广计划权重自然就起来了,就不必担心推广关键词分数低了
二、降低访客点击CPC成本
老司机知道,想提升直通车ROI就是两条路。一是降低访客点击CPC成本、二是提升访客点击转化率
时常会有同学说自己的访客成本比同行高、自己的访客成本比均值价位高、自己的访客成本怎么养都不降低
有的类目可以将访客成本降低到5分钱至3毛钱之内,有的类目却做不到。
我在这里想对各位车友说,不要羡慕别人的点击花费低。每个类目的差异很大,只要你能想办法做到不比别人的点
击成本高,确保产出ROI不亏损,那你就放心的投放吧,不要和周公下棋了。
不啰嗦了,精简……精简…精简.精
其实降低访客成本并没有大家想象的那么难,是各位车手把问题想难了。
上图数据我虽然选择的数据时段是7天数据,但实际是昨天下午15点半分上的计划,投放到晚上24点,实则是9个小
时的数据。
细心的卖家会发现,这些关键词被系统提示“计算机排名-无展现”、“无线排名-无展现”,但是却得到了展现量,也得
到了点击率。一些新车手会觉得这太恐怖了,竟然还有转化成交、还有应该不亏损的投入产出比。
其实这没什么,这也是低CPC引流的一个常规知识。大家只要别去相信直通车的提示,那你就成功了。也不是说所
有的提示都不相信,我的意思是不要相信他提示的无展现。因为他提示的排名前三、移动4-6、移动7-10、11-15,
都是模糊的,没有明确的说是上海地域、还是陕西地域、还是黑龙江地域、还是西藏地域、还是内蒙地域、还是细
化到某个城市,所以大家不用在意系统提示的排名和无展现。大家只要观察展现量数据即可
另外只要确保我们用的关键词是和推广产品吻合的,顾客搜索这个关键词就是在找我们这款产品,只要我们做好产
品质量、做好客户服务、确保发货速度、维护好问大家和买家评价,最后我们还愁顾客不转化嘛?我们还愁没有销
如何提高直通车的ROI,是每位直通车卖家的烦恼。ROI(Return On Investment)的定义是,通过投资而应返回的价值,即掌柜在直通车的投人产出比。 据计算公式ROI=利润投资x100%可得直通车中的ROI=花费直通车销售金额,而直通车销售金额=点击*转化率*客单价,花费=点击*平均点击花费。最后可以推算出算出:直通车ROI=客单价*转化率/平均点击花费。
所以要提高直通车ROI,主要可以通过提高转化率和客单价。降低平均点击花费这三个维度来实现。下面来分享一个提高ROI的成功案例。
开车前:抓好“关键” 根据掌柜的推广需求和店铺的情况来分析,我们初步挑选出了需要推广的宝贝款式,之后,在挑选好宝贝的关键词。这里介绍几种常用的关键词挑选方式。
关键词的选择 系统推荐关链词最简单、最方便也是目前使用率最高的选词方法。可根据系统推荐结果的相关度、搜索量和市场平均出价三个指标挑选合适的关键词。同时还需要注愈查看关键词的质量得分是否符合宝贝本身的情况,如果质量得分比较低或者差,则需要考虑替换或者删除。
相关词查询可以通过自己输入关键词来查找系统推荐的相关词,使用方法和注意事项和系统推荐类似。这种选择方式发散性比较强,可以根据自己想到的属性来查询,往往会有很好的效果。
搜索下拉框淘宝搜索框中下拉取词,这部分关键词一般是比较热门的关键词,流量相对较高,但是词量较小。
淘词-数据魔方数据魔方专业版淘词功能,提供了行业内热搜的丁OP关键词和近期服升关键词。是目前所有选词方法中参考指标最全面的,包括了搜索人数、搜索次数、点击次数、商城点击占比、点击率、成交笔数、转化率、直通车点击价格等一系列指标。
5w关键词表选取全淘宝网搜索量最大的前5万个关键词,这些关键词的搜索人数占一半以上,曝光率极高。组合关链词通过宝贝的标题和详情提取属性词和产品词,再通过excel或者组合工具批量组合关键词。
运用到数据魔方专业版里面的宝贝标题诊断功能可以大概检测出宝贝标题是否含有搜索量大或者热门的相关关键词,这对宝贝的自然搜索和直通车推广都有很大的帮助。
首先来看几个公式:
ROI(投入产出比)=成交金额/花费
成交金额=客单价*成交笔数
成交笔数=点击量*点击转化率
成交金额=客单价(点击量*点击转化率)
花费=点击量*平均点击花费
简单换算一下,
ROI=客单价*点击转化率/平均点击花费
如何提高ROI?
可以从数学公式角度理解,
题主在面对 ROI 问题的时候,不知道如何下手,很大程度上还是因为没有完整地操作过一套标准的流程,当有了一套动作之后就会发现,数据上的优化和调整并不难。
投入产出比,是验证我们推广是否有效的一个结果,因此,我们应该把投入产出比当做分析的一个概念,然后以投入产出比来决定你的关键词是否加价或者是降价。
当我们打开直通车的报表之后,该如何针对关键词进行加价或者是降价呢?
这里有参考的维度,第一个是点击转化率的高低,第二个是排名的高与低。
如果点击转化率比较高的情况下,ROI也比较高,排名比较低,我建议的是可以适当往上加价;如果点击转化率比较高,ROI也比较高,排名也比较高的情况下,我的建议又是什么呢?我的建议是要考虑直通车是否影响你的自然搜索排名了,因为在移动端上,自然搜索的排名靠前,并且你的直通车排名靠前的情况下,直通车会去重不展现这样的一个情况,因为移动端直通车第一名,它会对自然搜索前三进行一个去重,第二名,它会对自然搜索的前六进行去重,需要注意一下;如果同时点击转化率比较低,ROI比较高,那么,建议可以适当加价。如果点击转化率比较低,ROI也比较低的情况下,可以进行降价的一个调整。如果没有点击转化率的情况下,可以去删除。
关键词的转化,是验证人群的推广,是否有效的一个结果,它也就决定了这个关键词的去留。
比如说,当我们看到目前的点击转化率分别是7.86%,7.84%,突然有一个点击转化率是3.83%,通过这样一组数据呢,我们就可以考虑是否把这个点击转化率为3.83%的关键词进行删除。
直通车开了一段时间之后,我们会发现,并不是所有的地域都会有成交的表现。这个时候,我们需要打开地域报表的窗口,分别去查看有哪些地域是没有进行成交,没有给我们带来产出的,比如说我们通过这组的报表,发现,在云南和北京上,是没有产出的,通过这样的分析,我们就可以把北京和云南这两者的地域给关掉。
我们的访客也是有规律可循的,如果我们全天都按照同一个价格去出价的话,比如说,一个关键词出价是一块钱,如果我们要节省花费,一定是在流量高峰期来的时候,愿意出这个一块钱,而不是说流量非常偏低,比如说凌晨的时候我还会出一块钱去买这个位置,在花费上就有些浪费。
因此我们可以通过生意参谋后台里面的单品分析,访客分析来查看我们的流量曲线图,根据流量曲线图,去设置分时折扣,这样的情况下,就可以适当地节省我们的花费。
关于直通车,知道如何提高ROI,还只是基础的工作,后面需要做的还有很多。如果有不明白的,欢迎评论、私信一起交流。
当然,也不要忘记点赞。
关键词:直通车 转化 人群
大家在平时的推广过程中,肯定或多或少的会遇到转化的问题,特别是一些消耗高,转化低的店铺,提升好直通车的转化率,对直通车的一个投产可以有一个大幅度的拉升,投产起来以后,不仅仅是对推广成本的一个降低,你还会发现自然流量和自然转化金额也悄悄提升起来了,那么小编就跟大家分享一下一些直通车推广中所用到的逼格技巧。
相信许多车手或者店主都对淘宝千人千面的展现有一定的了解,现在直通车也是如此,推广过程中不可能再像以前一样出高价去卡位,因为每个关键词背后都有不同的人群在,不同的人群自然效果也是不同的,当然我们在优化过程中,需要把控到的,除了人群、关键词、定向、推广图等也都是非常重要的。
一、店铺简介
店铺主要销售的产品是家装类的,比如说卫浴、花洒这些,是大概8月份左右接手的,之前店铺的转化率一直在1%左右,产品的客单价也比较高,一般大概是500-10000元,如果说能够把转化率有一个大的拉升,那么对投产的提升肯定也是比较大的,下图是上月的数据,点击转化率已经优化到5.98%接近6%了。
二、关键词
1、精准关键词
关键词是直通车非常重要的一个部分,因为这是我们在淘宝搜索框里输入的内容,直接代表了消费者的购买欲望,因此在前期选词时,一定要足够精准;建议是可以结合产品的属性以及特征来选择。打个比方,我要推广一款女装短裤,那么我们可以采用精准词+产品词的结合形式,比如黑色加绒短裤,尽可能做到关键词的精准。
在前期选词时,也需要注意到关键词的相关性,尽量选一些相关性比较高的词,保证好关键词的质量得分,我建议是先选质量分5分左右的词,因为关键词的质量得分三个影响因素相关性、买家体验、创意质量三个中,相关性是最容易把控的;另外选词过程中我们必须注意词的展现量,一些展现量非常低或者非常大的都需要特别注意,太低的可以直接删掉,比较高的则需要注意关键词的出价,防止一个关键词就烧光了整个计划的预算。
2、核心词
在前期选词以后,经过一段时间的测试,大部分关键词都会有自己的数据出来,这时需要进行关键词的一个筛选过程,对一些消耗高、转化低效果比较差的以及几乎没什么消耗,展现非常少的一些关键词进行删除,保留剩下的效果好的核心词,这部分核心词将会是以后直通车转化的主力军,所以一定要注意培养。
另外在培养的同时,也需要进行对新关键词的筛选,保持好直通车新鲜血液的流入,值得注意的是这批关键词的花费问题,不需要在他们身上花费过多的预算,因为我们已经产生了一批核心词,这批核心词才是我们消耗的主力,新词可以规划出20%的预算左右进行测试,同上面的步骤是一样的,一段时间后再次进行数据的筛选,只保留好的关键词,删除效果差的词,保证好直通车关键词这个部分的精准性,提升转化。
三、人群
1、系统人群
文章最开始就提到直通车的人群,这一部分和关键词是同等重要的。直通车系统会根据店铺数据推荐一些人群:淘宝首页潜力人群、优质人群、付费推广/活动人群、节日人群、同类店铺人群,这些人群的都可以进行测试。
每个店铺的人群和情况都不同,如果说没有足够的经验,千万不要凭自己感觉去进行人群的筛选,最好是每个人群都花预算去测试下,才会知道好的人群是哪些;测试出一个宝贝效果好的人裙以后,后面宝贝人群可以重点测试这个人群。
2、自定义人群
自定义人群这一块就需要根据店铺的情况去设置了,在生意参谋-流量-访客分析-访客对比,这里会对店铺人群画像有一个大概的展示,如果说没有更加精准的店铺人群数据分析时,可以参考生意参谋的这个数据进行设置。给大家展示的这个店铺主要面向的高消费的人群,所以我在直通车人群溢价这一块,会偏向高消费人群以及购物车人群,他们的整个数据反映也是比较好的。
四、定向
有开通定向的直通车最好进行定向这一块的测试,特别是一些店铺的PPC非常高的店铺,定向的ppc一般都是比较低的,但是在点击率方面就需要把控好,不同店铺的点击率差异很大。
有些店铺的定向效果尤其显著,特别是女装类,PPC低,点击率高,转化好;针对这样的店铺,那么我们只需要保证好关键词投放的精准,就可以把大预算集中在定向这一块,投产很快就可以有一个大的拉升。
五、创意
1.创意图
创意这一块,和关键词一样,是最直接接触到消费者的,买家在搜索了关键词以后,直接展现在他面前的就是创意图,因此图片一定要结合产品的卖点去打造,千万不要人云亦云,这样出来的点击率会很低;比方说我的产品卖点的价格低,质量都是和同行一样的,那么作图时候可以把重点放在价格这一块。
当然我们的卖点一定要真实,不要为了点击率做一些奇葩图,这样的图片出来以后,点击率是高了,但是转化率却低了,淘宝给流量不单单只会看你的点击率,转化率也是非常重要的参考要素。所以说要结合产品卖点去做,突然自己和同行不同的部分,把自己的竞争优势大方的展示出来,这样不仅仅是我们点击率的拉升,对转化率也有一定的帮助。
2.推广标题
很多店主对推广标题这一块不重视,就很容易失去一个提升关键词质量分的机会。标题前期测试出好的推广图以后,那么我们就可以加大对推广标题的测试,测试过程中可以筛选一些效果好的关键词、产品精准的属性词、店铺宝贝的成交词等等组合成不同的推广标题进行测试,后期再依据数据选择效果好的推广标题进行投放。
六、计划的基础设置
1. 分时设置
设置好宝贝的关键词、人群、定向、创意以后,计划的设置也是不能忽略的;在分时这一块的话,建议可以依据生意参谋-流量-访客分析-访客分布,查看过去30天店铺的成交情况,结合行业的情况对计划进行调整,确保好在店铺的成交高峰阶段,我们的可以有较好的排名情况。
2.投放平台
投放平台方面一般店铺建议是选择站内投放,主要投放还是在站内的无线端,PC可结合店铺的实际情况进行测试和投放。但是男装店铺尤其是ppc较高,预算较多的店铺建议可以小预算尝试下站外的推广,后期再依据推广效果进行调整。
3.投放地域
地域设置可以结合店铺情况去选择,一些偏远的地区可以斟酌好运费成本再选择是否投放,一些竞争力比较大的地区也可以选择性不投,一些预算较少的店铺可以结合生意参谋-流量-访客分析-访客分布,过去30天的访客数占比排行TOP10以及下单买家数排行TOP10来选择;预算较大的店铺最好可以多测试一些地域,一些偏远的地域投放效果也是不错的。
总结:
首先是关键词部分,建议前期可以选择精准的关键词进行测试,后期再挑选效果好的核心词重点投放,同时选择新词进行测试。人群方面也是需要进行测试,选择效果好的人群加大比例进行投放,效果差的可以依据预算小占比或者直接暂停;自定义人群方面建议结合店铺的人群画像来选择测试。
店铺的定向推广建议最好测试,需注意把控好定向的点击率,控制好消耗占比。创意方面,推广图一定要结合产品的卖点去做,打造店铺的特色,不要人云亦云,提升点击率和转化;推广标题也要重视起来,结合直通车好的关键词,店铺宝贝的成交词来选择,快速提升关键词的质量分。计划的基础设置这一块也要结合店铺的情况来设置,保持好计划的全天投放,提高产出。
//本文系广州大麦原创,转载请联系我们。广州大麦信息科技有限公司,正式成立于2011年,是国内领先的综合型电商解决方案提供商。提供大数据与分析、品牌全案、电商代运营、营销推广等服务,欢迎私信来撩大麦哥~
知识点普及:淘宝直通车到底是什么?
淘宝直通车适合人群:淘宝、天猫的专职卖家。直通车对于这部分人来说已经属于是标配,不存在有没有的问题,只有价格高低的问题。
收费方式:竞价。卖家需要选择与自己的宝贝相关性比较强的关键词,然后设置一定的价格,最低0.05元,最高99元,如果自己的宝贝被点击次数少就可以加价来获取更多的点击量,每次加价幅度为0.01元。
直通车优点:提高产品曝光率、精准投放、带动店铺销量。直通车相当于是花钱买广告,系统精准投放,用户看到广告点击链接进入,有的通过广告链接直接成交,有的进入店铺通过其它宝贝成交。
直通车扣费原理:
扣费=下一名出价*下一名质量得分/本人质量得分+0.01元(扣费小于等于本人出价和时间投放百分比之积)
所以质量得分越高,扣费越低。
影响直通车质量得分有3个因素:创意质量,相关性,买家体验。
创意质量的高低取决于计划的点击率,点击率越高,创意质量就会越来越高,最后达到满格。点击率影响因素与图片,直通车展示的位置,精选人群以及关键词是否精准符合产品有关。
直通车投放设置:
时间设置:直通车设置的选项非常多,可以设置在某一时间段的价格、是否开通等。在流量比较低的时间选择关闭直通车即可。
地域设置:宝贝适合在哪投放就选择在哪些地区开直通车。有些地区不能够包邮就选择不在该地区展示直通车即可。买棉衣、棉裤的选择不在海南地区展示即可。
直通车已经成为了卖家必备的选项,会用、合理的用会成为卖家获得更多销量与节省资金的技巧。店家一定要抓住平台变革的方向,掌握相关技巧,走在众多竞争对手的前面,寻求自己实现超越的良机。
一进来就看到有人在强调美工,好吧,都要开直通车了,是有必要好好搞下美工了,毕竟不是刚开始的阶段了。建议找个好点的美工,店铺整体风格把控一下,最起码要做到风格的统一,这点很重要!由于这块懂的不是很多,因此选择性略过。
其次,如何提高ROI的问题,这个跟很多方面有关,美工也是其中之一,当然更重要的还是各种运营的数据。
比如说你的展现量跟点击率分别是多少?点击跟购买的比例又是多少?你的出价是多少?排名的位置,这些都很重要!
展现量就是你有多少次展现,并不是越多越好,有时候反而是越少越好。主要是展现要跟点击连起来看的,点击过低展现过高的话,你的权重就会降低,导致相关性变低,然后就需要更多的钱才能有个好排名了,这点要注意。
其次就是购买,100个人点击,里边平均停留时间是多少?多少人最终购买?多少人点了就离开了?这些也都是影响你相关性的东西,简单说这些数值都低的话,淘宝就认为别人不喜欢你的宝贝了。
然后就是排名越高越好,出价高低直接影响排名,这两点我估计人人都知道!
好的主图和详情还有店铺风格,能对转化形成适当的加分,当然这也不是绝对的,毕竟设计的再好,别人也可能看不上你。因此记得宝贝的评价、销量、DSR评分都要跟着直通车一起做好,一个都不能丢。开直通车的阶段最好请个美工来给你整体把握一下店铺的风格的问题,对转化有很多好处的!
你先问自己几个问题。
1.产品属于标品还是非标?
2.你的产品在整个行业中到底怎么样?
3.你的产品价格上面有没有优势?
4.你的产品是否拥有其他竟对商家没有的整体解决方案?
当你弄明白这四个问题之后,后面的问题的是:
1.你产品的关键词写清楚了没有?分词和排序有没有尽量做到系统可判别情况下的最优状态?
2.主图做的怎么样?是否体现了产品特点?有文案否?搜索页面竞争时的视觉效果能否跳出?
3.该有的服务都有么?物流情况,运费情况,发货时长,保障条款。
4.详情页有深思熟虑过么?排版是否得体,移动和PC是否有分开制作,色彩运用上有考虑用户心理因素么?头部的吸引位置是否有专注产品痛点?整个逻辑在理想状态和显示状态上打开缺口?底部购买层可有再次击中痛点?
当你又弄明白了这四个问题之后,后面的问题是:
1.多渠道部署过程中是否有权衡每个渠道的流量占比。
2.UV和PV比例是否正常。
3.基础数据是否有过系统分析整理。
4.和你同一层级的竞争有无分析?
5.客服接待,产品评论,产品提问有无做到你能做到的最优?
6.是否开始拓展新渠道?
7.可有降维竞争?
当你考虑过这7个问题之后,后面的问题是:
1.周期性流量判断,是否进入瓶颈期?
2.竞争进入哪一个层级了?
3.近期排名变动与上一个周期有何不同?
等你多次考虑且落实这三个问题之后!你才会面对到这个问题:
是否应该使用站内的大竞争付费流量进行瓶颈期的突破!
也就是,你所问的,如何提升ROI。
在这之前,前面的所有问题,你可有仔细的斟酌过,考虑过?
当然了,还有一堆其他的复杂且让人头痛的问题。就不一一列举了。
恩,比较懒。因为我深信很多牛逼的产品和方法都是因为自己的懒,而逼迫自己用懒的方法做出来。
因为懒,所以也就只能做出这样擦着KPI边的数据了。
还有呢,关于你的问题。
我都不知道老铁你做的哪个类目啊,我咋知道怎么提高ROI啊,难道我要像别人一样给你说降低PPC?提高点击率?加词?测图?
你知道这些你也做不好啊。
如果非要说一个通用的有效的,那就是 +1 -1 亲测,屡试不爽。当然了,那个出价时间什么的还是要调调的。
最后,如果你不是头部商家,钻展这个东西轻易不要开…….如果没到腰部,直通车也别开了,当然了,瓶颈期时保护费该交还是要交的。
没有具体类目,我来说下女装店铺直通车提升ROI的关键点:
1.店铺风格
店铺风格为什么会影响ROI?
先来看两张直通车报表截图:
因为要对店铺保密,我就不把店名截出来了,
这是两家女装店铺最近30天的数据截图,上面的报表我们只看2个数据,直接成交笔数和间接成交笔数。
可以看出第一家店的ROI明显比第二家店好,
第一家是风格店女装,直接成交587笔,间接成交801笔;间接成交是直接成交的136%
第二家店不是风格店女装,市场货,走的单品爆款路线,直接成交1165笔,间接成交207笔,间接成交是直接成交的17%
这两个数据说明什么问题?
风格店能更好的利用流量!
也就是说,整体转化这块,风格店转化要比那些不是风格店铺的要好。
不仅仅是直接转化和间接转化能看出这个数据,其实从访问深度、跳失率也能看出来,风格店的数据是远高于非风格店的。
车手很多时候,能决定的,也就只有账户权重,转化这块是车手的瓶颈,很多时候,ROI不是单单一个车手能决定得了的,这是店铺本身的定位和风格的问题,
这也是很多人没能够上升到店铺定位的程度,他们永远把眼光局限于操作爆款,几天做到几万流量,所以他们永远都是小卖家,这些店永远进不了行业top。
有人可能要问了
我能不能通过优化宝贝详情页,优化描述,把访问深度和跳失率的数据做好,然后把间接转化做上去?
狗屁!
这些人还是没有分清主次问题,如果你是一个风格性很强的店铺,那么进来的人肯定会对你其他宝贝感兴趣。如果你店内本身宝贝就非常杂乱,他看完这款宝贝可能就走了。
我们把风格店分三类:
(1) 强风格店铺
(2) 弱风格店铺
(3) 没有风格的店铺
———————————————————————————————————————————-
(1)什么叫做强风格?
比如我之前给大家讲的那个中老年女装店铺就是强风格,由于我早就没在那家店上班了,我把店铺名发出来:升花旗舰店和suppod旗舰店
(之前我一个连载28天的直通车实操手记就是这个店铺,是在派代首发的,之后我会陆续将其倒腾到知乎)
同样的模特,同样的场景,全部是民族风的款式,这种店铺就是强风格店铺,间接转化会非常的好。
当时这两家店都是我和小郭两个人在操作,这类店铺小郭的直通车ROI都能做到3.7
当然,现在他们店铺风格有点乱了,模特不止一个,场景也多了,款式也不仅仅是民族风了。
再来看一家:爱来卡欧洲站
这个也是我的老东家了,欧洲站风格,同样的场景,同样的拍摄手法,同样的款式风格,这种店也是强风格!
以前是阿涛和我一起在操作,之前是在女装400多名。
它的直通车效果也特别好。
为什么好?
因为间接转化效果特别好!
上面给大家看了两家,欧洲站的,民族风的,都是强风格店铺。
我问下:
韩版算不算强风格?
韩版不属于强风格!
韩版这个东西,已经没有明确的定义了,基本上随便在大街上拿一件衣服,都可以说是韩版,都可以把宝贝标题加上韩版2字。
买家不会去淘宝上面搜韩版的衣服,因为是个宝贝都能把标题写成韩版,带韩版标题的宝贝太多了,买家搜到的东西并不是他想要的。
那么什么才叫做强风格呢?
必须带明确的、精准属性的词
比如棉麻、比如真丝、比如夜店风、再比如森系
买家搜到的,是他想要的东西,这就是强风格,她进来之后会看你店里其他宝贝。
(2)什么叫弱风格店铺?
我先问下大家,市场上那些烂大街的款式能不能做成风格店?
我给的答案是:
可以!
其实除了款式,能决定我们风格的,还有拍摄!
这里我不得不再拿出小谷粒的案例给大家讲,
他们家的货,市场上随随便便都能拿得到,他们店铺的风格很大众化,但是他们店铺也是属于风格店,他们同样的模特,几个固定的场景,固定的拍摄手法,让老顾客很容易记住他们,所以并不是需要款式一定是某个风格才算风格店。
他们款式风格性不强,太大众化,
这类风格店铺就叫做弱风格店。
也就是说,我们可以完全拍摄来打造一个风格店
这类店铺的间接转化会比强风格的店铺稍微差一点,
但是这类弱风格店铺的优势也很明显,顾客能记住它,下次去淘宝搜的时候一看的某个宝贝的主图,一眼就能知道是他们家的。这在直通车人群溢价这块优势特别大,一会儿我会给大家讲。
很多做市场货的童鞋,听完我刚才讲的,应该就知道怎么操作了。
这里顺便在说一下,小谷粒前段时间刷单被全店屏蔽,刷单我一直建议大家少刷,靠刷单做起来的店铺毕竟不长久,他们店铺卖得那么好还去刷单,我也是没想通!
(3)没有风格的店铺
这个没什么好讲的,现在市场上的分销、代销女装店铺,基本都是无风格店铺,
各种模特、各种场景、各种不同风格的款式、各种角度。
这类店铺直通车操作起来比较难,并不是他们直通车权重比较难养,而是他们转化往往跟不上,直通车只有直接转化没有间接转化,他们对流量价值的利用率不够,即便压到很低的PPC,ROI往往也好不到哪里去。
这类店铺适合操作单个爆款,他们对于转化率的分析也只能局限于单品的转化率,
小雨本人认为间接转化更重要,这是你店铺想做大的必要条件。
所以,还没布局风格的,可以开始布局了,当然,拍照要花钱,拍风格店更是要花不少钱,而且拍摄本身是有风险的,资金如果不充裕的情况下,还是玩单品吧。
1. 人群溢价
人群是提升ROI的一个关键点,
结合我们风格店来讲,
人群溢价对风格店铺提升是最大的。
先给大家看个例子,
直通车数据:
这款宝贝是我去年在推,
你们觉得这款宝贝的点击率能到5%吗?
我再问一下,
你们真的觉得这款宝贝的点击率能到5%?
这款宝贝点击率如何,其实你们可以把主图拿去自己测,但我估计点击率只有2%左右,
但是我为什么之前操作的时候点击率能做到5%?
因为有个东西叫做人群,
款式可以抄,但人群这个东西是抄不了的,因为你店铺根本就没有那部分人群!
我们以前主要的人群是:
已购买的,已收藏的,已加购的,已成交的;
这部分人群你有吗?
没有这部分人群支撑,数据就是渣渣!
我再说一下一个事实情况,
欧洲站风格的点击率普遍要比市场图低,包括我直接操作的民族风妈妈装点击率也偏低,这是风格店的一个劣势,你的拍摄不一定拼的过市场图,但是风格店最大的优势是人群溢价上的优势,风格店通过人群溢价完全能扭转这个点击率上的局势。
这款宝贝不开人群点击率只有2点几,包括我刚接手这个欧洲站店铺的时候,绝大部分的宝贝点击率都只有2点几。
但是人群开了之后,所有宝贝的点击率都上升了两个档次,看清楚了,是两个档次!
很多不开人群的宝贝,2点几的点击率,开了人群之后,直接上升到4点几,甚至5点几
这些很多人认为是垃圾款的宝贝,能低价做到大流量了,而且还能在3以上的ROI!这在很多人眼里是想都不敢想的!
但是切记一点,不要单纯的认为我们人群是为了拉点击率!这类店铺认知人群的转化率非常不错,我们做人群的主要目的是拉转化率,低出价高溢价的方式去过滤流量,一般转化率高的人群,点击率也会不错。
这款宝贝现在销量才100多件,去年一天就能卖100件,今年他们没推起来,很可能是他们没利用好人群这个工具。做欧洲站风格店铺的直通车,人群溢价是关键!
关于人群溢价的操作,我在以前的帖子已经讲得很详细了,我这里就不去重复讲了,还不明白的可以倒回去看看,【小雨直通车实操手记】第11天 人群溢价优化思路
3.测款
这是第三个关键点,前面说了,风格对一个店铺的转化是至关重要的,但并不是说你只要形成风格了,你直通车就一定开得好。
女装的直通车ROI好不好取决于款式
如果你觉得你直通车开得非常艰难,一定是款式没选到。
款式分四种,但是我们最终能推的只有两种:
哪四种款式,我先写下来:
1. 点击率好、转化率好的款
2. 点击率好、转化率差的款
3. 点击率差,转化率好的款
4. 点击率差,转化率差的款
第四种款式我想大家都不会去推,
我说下,只有前面两种能推,
第一种款式是爆款,我相信这是大家都喜欢的,记住,这里的转化率是指直接转化率,不是总转化率!
上面是一个女装风格店,可以看到它间接转化都不错,
上面的的一些款式,
第一款和第二款的转化率都不错,可能大家觉得都能作为主推款去打。
但是这里千万不要去看点击率转化率,我们这里把关注点放在直接成交笔数和间接成交笔数,可以看到,第一款直接成交笔数并不多。它并不能作为主推款去打,它转化率看起还可以是它的整体转化率看起还可以;但它的直接转化率低,它自己的销量就起不来;它销量如果起不来,它自然流量就进不来。
这种款就不能作为爆款来推,只能作为引流款。实际的情况是,第一款的销量也非常少。
第二种款式,
点击率低,转化率高的款式,作为引流款。
记住了,我这里说的转化率,都是指宝贝本身的转化率,不要把它间接的转化率算进来,宝贝本身的转化率我建议去看生意参谋里面的转化率,但我更希望你们去看加购率,那个数据比转化率更准!
引流款的作用是什么?
提升账户权重!
引流款主要靠间接转化来维持ROI
店内必须要有一些引流款,这样你主推款才能拿到更多流量。
权重这个东西看不到,它实实在在存在,
权重这个东西能让你直通车推广更顺手。
好了,既然大家知道了怎么选款,那肯定得知道怎么测款,
测款这块的操作,我相信大部分人都会,测款我就不去讲了,以前的帖子已经写得很详细了,实在不明白的,可以倒回去看看【小雨直通车实操手记】第6天 测款 车图 账户权重
记住了,女装是看款式的,直通车ROI好不好,款式绝对是核心,款式如果很烂,你人群优化得再好都没用,所以先去把款选好了,后面再优化人群;包括风格店也是,你选主推款的时候也会决定你店内最终的ROI,选款不要盲目的选,不要凭感觉选;必须要有数据作为支撑。
好了,今天的内容再回顾一下:
1.店铺风格对直通车ROI的影响
2.利用人群溢价提升直通车ROI
3.女装选好款来提升ROI
今天就说到这里,以后的话,不会每天更新,但我会不定期更新,谢谢大家关注
姓名*
网站
评论*
评论 ( 20 )
平时卖家们可以通过调整关键词来达到提升ROI转化率的目的,而今天这篇文章小编主要是跟大家分享一下流量大、花费大的店铺在直通车的操作过程中可能会碰到哪些问题,并且告诉大家可以怎样通过合理的操作手法来解决这些问题,从而达到有效提升店铺转化率的效果。
下面以一个淘宝C店为例,跟大家说一下如何利用直通车推广来提高店铺的转化率。
这个淘宝C店的情况:主营服饰鞋包,属于季节性的类目,这个店铺的宝贝数量相对比较少,主卖的也是几款比较大众化的宝贝,单价比较低,在没使用直通车操作之前,掌柜一直和我强调是因为产品过于大众化从而导致直通车的转化率低,那么到底是不是真的像这位掌柜说的那样呢?下面我们来进行具体的分析:
一、做好店铺直通车的情况分析
首先来看看该店铺在使用淘宝直通车推广的第一个月的情况,如下图:
从图中可看到,1个月的点击量大概在2万多,而平均每天点击量不到1000下,PPC在1块左右,也就相当于是每天花费1000左右,ROI转化率在1.11,点击转化率是0.32%,收藏成本是15.4元。
从以上的数据可以看出这个店铺主要存在两个问题,PPC和转化率的问题,那么应该要怎么做呢?
1、降低PPC,该店铺每日PPC需要1.09元,而在日投入1K的情况下,还只是达到这个数据其实是有降低空间的,说到这里,可能会有人这样问:为什么做到1块钱价格还算高呢?原因有两个,一是女装类目的PPC本来就不是很高;二是在点击量如此高的情况下,应该要先优化点击率,提升质量得分,从而降低PPC。
2、提升转化率。店铺的转化率可以说是店铺直通车操作中出现
的最严重的问题,但是该店掌柜没有仔细查找原因,忽略了直通车的精准性。
综上所述的数据中可以得出,该店铺存在的问题主要是流量基数比较大,但是都不精准,使得投入和产出不成正比,应该优化的方向是需要保证在原有流量的基础上来提升转化率,降低PPC,提升投入产出比。
二、重点讲解优化直通车步骤
1、选款很重要。该店主推的宝贝是一件皮草马甲,价位中等,该产品最大的优点是受众面比较广,但是劣势也正是因为其受众面过广而导致竞争非常激烈,该类产品一般的起量是比较多且快,加上买家的从众效应比较明显,所以,需要提前做好提升转化率,在同类产品中形成转化优势,而且该宝贝的整体拍摄视觉还不错,具有吸引力,在反季热销该宝贝的月销量在500左右,也算属于小爆款的范围。
这款商品在推出的时候就可在短时间内见到成效,并且在刚推出的时候就成交了370件,等后续再继续加大力度推广,就很容易形成一个大爆款。
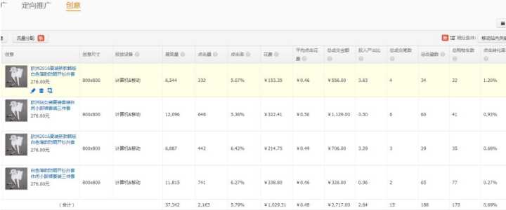
2、选择关键词。常见的选词方式总结如下图:
选词最基本的策略就是结合店铺的具体情况做判断,针对主要的优化方向来进行调整,从词的精准性方面下手,下面先看看店铺原先有的转化关键词:
从上可看出,主要成交的词是在广泛词和定向,而这样的情况很容易导致竞价成本高,转化率低,尤其是对于女装类目来说,竞争的情况更加激烈,而女性消费者在购物的时候喜欢进行多家对比,所以也不一定卡在前面的就是好的,放在后面的也会有流量的,但是如果一定要卡到前面的话,那么只会导致整体的投入产出比会很低,直通车估计会亏血本儿。
所以,在制造爆款的初期,选择用大词可快速的提升流量,但转化率就相对比较低,当宝贝的销量有了一定的基数的时候,就不能再继续用这一方面了,得换另一种方法,使得流量更加精准话,才能有效提升转化率,降低PPC,下面就是本案例的优化重点,到底要怎么样优化呢?
首先,要对关键词进行调整
建议可以先减低原来卖家的主要流量来源的皮草、皮草马甲等大词的出价,将这部分的推广预算用来做精准关键词的投放,同时,以行业搜索和成交比较好的属性词作为核心,搜索相关关键词,加入更多精准关键词来弥补大词所损失的流量,这样能够保证流量的基础上,提高精准流量的占比,降低高价泛词的推广预算,达到降低PPC的目的。长尾词的优势是流量精准性比较强,所以,也会令转化率得到提升的。
其次,对关键词进行不断优化筛选。
不断的优化筛选出有利于推广的关键词,才能使得引进的流量更多更精准,建议卖家们在上新宝贝的时候,定期将每个关键词都提高一定的幅度,同时调整好投放到时间段,尽量排到前面,而上新的关键词还需要不停的出价来进行调整,一般在3天内的降价幅度不要太大,在第1天可以以10%-30%的幅度调整,在第二天和第三天的时候可以稍微向上调整,但不能太大幅度降价,这是为了防止质量得分下降。
按照此方面进行优化后,来看看效果怎么样:
从上图还可看出,主要的成交词已经发生转变,慢慢的倾向于长尾精准词了,但是还是存在很多大词的原因主要是为了保证原来的流量基础,维持店铺流量,防止下滑。
其实只要用心去做,优化直通车的过程也不会很难的,用心去分析,将每个关键词的点击率做上去,开直通车就能得到很不错的效果哦!
此外,大家还要注意一点的就是,店铺要在不同的阶段做不同的考虑,有的阶段是为了做流量,有的是为了利润,甚至有的是为了提高ROI,不同的阶段要做好不同的计划设置才能得到更好的效果。
码字不易!如果觉得回答对你有用请 疯狂点赞!感谢!关注!以支持我写作!
码字不易!如果觉得回答对你有用请 疯狂点赞!感谢!关注!以支持我写作!
作者:算法博友
计算机博士研究生毕业,大学讲师,专注研究淘宝搜索排序算法,淘宝数据分析。实操类目包括食品、一件代发服饰鞋包、产业带女裤等,2017年自营天猫店铺曾冲击产业带前五。
以实战为本,坚信思路比方法更重要!帮助并影响数万商家,总结梳理成中小卖家入门教材《淘宝天猫店铺运营实战》,已投入两所高校作为大学教材,欢迎联系我领取电子版!
一、降低ppc(平均点击花费)
我们都知道在相同的出价之下,质量分越高的关键词PPC会越低,想要降低PPC就必须先提高关键词的质量分。
在刚开始添加关键词的时候,建议还是要先加一些相关性高的长尾词。添加好关键词之后要注意优化宝贝的排名,提高质量分。现在已经基本上优化到了10分,9分的词也是比较少的了。
总结了几点提升质量分的方法:
二、提高转化率
1.投放平台的优化
因为站外的流量都是不精准的,并且站内的转化率都是高于站外的转化率,所以一般都会选择投放站内而不投站外。如今的无线端是一种趋势,优化移动端的详情页这是必不可少的,这样也可以提高无线端的转化。当然PC端也还是要注意优化的。
2.投放地域的优化
从生意参谋里可以一目了然的看到各个城市访客数和下单买家数的占比。再根据直通车后台地域的报表数据两者综合分析,这边是删选过后的投放地域。
3.人群的优化
若店铺客户群体偏中年男性的会多一点,人群定位也可以从这方面走。设置好每个人群的溢价,增加精准人群的投放,对人群进行调整,添加更加精准的受众群体,提升转化率。
三、提高客单价
1.制定符合自己店铺的营销方案,利用活动来提高客单价
像这个店铺主推的是推拉衣柜,客单价偏高利润空间是比较大的,主要主推款客单价高的产品,所以店铺客单价很明显的整体就提升了很多。
2.可以利用相同属性的产品来进行关联营销
比如说:满减满送等等,抓住买家的购买心理这也是最有效。提高客单价的方法之一。
3.一个优秀的客服可以为店铺带来更高的销量
培训好客服提高客服的专业知识,在合适时机能把关联产品推荐给客户引导下单。所以说客服也是影响客单价的重要因素之一。
4.维护老客户
店铺有优惠活动或是有什么重要事情可以发短信给老客户,抓住这一部分的群体也是可以提高店铺客单价的。
具体提升数据对比:
当然有的时候适当的进行提升或是降低花费也是一个可以提升roi的方法,一天的花费比较多的,花费上面是要控制好。现在整体ppc在0.85元。所以一般到下午或是晚上的时候就会提前下线,所以有的成交的词得不到很好的发挥。
四、总结
1.开车过程中我们要维护好优质的关键词。这样直通车的点击率也会得到提升,PPC也会随之下降,ROI会相应的提升。
2.直通车是一个增加店铺流量的推广方式。流量引进来了,是否能转化为成交,主要还是要看店铺和宝贝本身的情况。所以自身的内功要做足才能达到更好的ROI。
3.店铺要明确自己定位。找准店铺的客户群体、店铺风格等等。把人群做好这样才能更好的提升ROI。
4.款式要选择好。不好的产品可以暂停掉。推广优势利润比较大的产品。
淘宝直通车新手想提高ROI,其实也不难,简单来说主要就是两个点:降低PPC,提升转化。
1、如果是因为直通车的点击成本太高,导致ROI投资回报率低的话,我们需要通过后台花费数据排序,找出ROI低的并且点击成本高的关键词,看看是因为那些词的点击成本高,分析出那些是亏损词,那些是引流词,那些哪些又是辅助的引流词
(1)、如果是主要的引流词转化率差的情况,可以根据关键词的转化率来减少出价,以有效的引流成本调整到合理的展现页面,尽量做到低成本引流。
(2)、如果是主要的引流词转化率一般的情况,能带来成交的关键词,那么,我们可以通过提高关键词的质量分,来降低它的成本从而提高ROI的投资回报率 。
想要提高质量分前,首先看下这些关键词最近几天的点击数据分析。如果展现量高,点击率低的话,那么可以改变关键词的匹配方式,调整至精确的匹配,降低无效展现,从而提高点击率。
如果这个词点击率已经很高了,关键词的质量分也很高了,只是这个关键词竞争比较激烈,点击价格一直很高,那想平衡ROI投资回报率,只能降低它的引流成本,根据产品的转化率调整出价,让它停留在合理的展现位置上。如果是单独建个移动端的计划,用当前引流成本较低的移动端给转化能力还不错的关键词引流。
(3)、如果是有收藏或者偶尔有转化的关键词,我们可以降价这些关键词的出价,然后进行观察,对于没有。收藏或转化的关键词,我们可以直接降低出价,以较低的价格做引流。
2、如果是因为第二种原因,产品的转化率低导致的ROI投资回报率低的话,那我们得先按照花费排序,找出ROI投资回报率低,转化率也低的关键词。
(1)、先分析转化率低的关键词,如果它们都有相同的特征,那么降低关键词的出价,减低成本。同时做好宝贝页面的相互关联,让流量在店铺其它页面消化。
(2)、如果关键词的点击量的基数很大的话,是主要的引流词,如果转化率不行,那可能是因为竞争环境的原因,此时可以降低引流成本,调价至后两页,选择合适的竞争环境提高转化。同时做好落地页关联和购物路径,让流量在店铺其它页面消化。
(3)、如果关键词的点击数一般的话,都是是辅助的引流词,判断不出关键词的转化能力,那我们需要多观察一下历史数据。这些关键词点击量一般很高,又有收藏率的话,我们可以给予适当的调价,提高这些词的展现量。如果经过一段时间,这些关键词的点击量不多,收藏率也不高的话,那么可以根据需求,降低这些关键词的引流成本或者是删除这些关键词。
大家好!我是司空。
淘宝直通车新手如何提高ROI?
或许,很多新手朋友还不太清楚ROI是什么?在这里呢,我先解释一下ROI意指投入产出比。
清楚了ROI是什么意思之后,我们再来看看淘宝卖家如何提高直通车ROI?
一、首先,我们要搞清楚一点,就是新手卖家在刚刚开始开直通车的时候,实际上是谈不到ROI的。
为什么?
要知道于大部分新手卖家来讲,都是刚接触直通车的,感觉花了几百元却没有得到预想的销量,这个时候,他们就非常着急,心想“直通车为什么是这个样子?网上不是说一开就能做起来吗?”等等之类的;然后呢,就想知道直通车ROI怎么去做呢。
而我为什么要说这些新手卖家在刚刚接触到直通车时,是谈不到ROI呢?其实是因为新手卖家在最初开始开直通车时,首要,要做的是获取流量,因为只有获取到流量后,直通车整个的数据才能跑起来;而这也正是为什么最开始没有销量的原因。其次,就是提升直通车账户权重、关键词质量得分;因为只有权重起来了,质量得分起来,流量才能起来。
二、新手卖家什么时候谈ROI才合适呢?
当,直通车数据跑起来了之后。
三、那么,新手卖家又该如何去提高直通车ROI呢?
很简单。
首先,新手卖家一定要记住,无论任何事,在行动之前,一定要先将其了解清楚,整个行动思路捋清楚;因为只有这样,才能做到整个过程中都是明明白白的。所以,在开直通车前,一定要把整个思路捋清楚。清楚之后,就会发现,整个直通车其实一点都不能难。
究竟怎么去提高直通车ROI呢?
第一个方法:分时投入比例调整。
什么意思?
举个栗子 :我现在在开直通车,开的时间是早上8点到晚上10点,开14个小时。
那么在这14个小时里,我就需要去分析两个问题:
1、哪个时间段的ROI是比较高的?
2、哪个时间段的ROI是比较低的?
假设,早上8点到早上10点左右的这个时间ROI是比较低的,那么在这个时间段,我就可以把“分时比例”给它调到80%到70%之间;简单的讲,就是要限制我的流量。
为什么?因为针对投入产出比比较低的,如果不进行减少投入,就意味着我在做无用功。要知道,之所以开直通车,不就是为了更多流量,更多销量。另外,作为一个新手卖家还要知道,于ROI本身而言,就是会限制获取流量的,于我们原本想获取流量是完全冲突的,所以在这个情况下,你只能减少投入,也就是限制流量,来提高投入产出比,提高销量。所以我要在这个时段减少我的投入。
而晚上8点到晚上10点的这个时间ROI是比较高的,那么在这个时候,我就可以把“分时比例”给它调到110%到120%之间;因为在这个时段,我要去获取更多的流量,获得更高的投入产出比。
所以第一个提高直通车ROI的方法就是,要去分析,我们投放的时间段里,哪个时间段的ROI是比较低的,哪个时间段的ROI是比较高的,然后在分时里给出相应的投入比例调整。
第二个方法:区域投入调整。
举个栗子 :我在卖羽绒服,分析之后,除了海外、偏远(西藏、新疆)这些地区不能投之外,还发现广东和广州这两地区是处于炎热状态,投入产出比也是比较低的,那么这两个地区,就不能投了;你想啊,人家都处于炎热的状态了,还买什么羽绒服, 所以,在区域投入里,就要将这个两个地区去掉。然后,还发现北京这个区域是比较冷的,投入产出比也是比较高的,那么,针对这个区域,就要加大投入。
第三个方法:宝贝投入调整。
举个栗子 :直通车里面开了10个宝贝,分析之后,发现其中有4个宝贝ROI特别的低,那么,就可以不开这个4个宝贝了,只开剩余ROI较高的6个宝贝。
第四个方法:关键词投入调整。
举个栗子 :直通车里面开了50个关键词,分析之后,发现只有15个关键词的ROI还可以。其他的35个关键词ROI都特别特别的低,那么在这个时候,就可以不投这35关键词了。
——本次的解析到这就里就结束了,感谢大家的阅读。
淘宝创业初期或多或少都会遇到一些问题
如果有什么疑问或补充的,欢迎留言评论或私信交流
外面的世界真精彩,但日子总得要过,做掌柜的每日必关注2件事,一是昨日的店铺销售额,二是直通车的ROI,毕竟是花出去自己的钱,想知道能回收多少,但现在摆在大家眼前的更多的是白花花的流水,却冒着丁点的泡,心中无数股寒流流淌。
ROI= 销售额/花费=转化率*客单价/PPC
那么从公式中,我们看就可以直观的看到影响ROI的是转化率,客单价 及PPC
一般店铺的客单价是比较稳定的因素,只有到了换季的节点,才会出现幅度的增涨。
所以要想提高ROI,我们先不妨提高单品转化率及降低单次点击PPC
1、提升ROI的所处阶段;2、投放平台;3、投放时间;4、投放地域;5、创意标题;6、创意车图;7、关键词思路;8、匹配方式;9、搜索人群。
提升ROI的阶段,适用于产品爆发期到衰弱期,所推广的产品有一定的销量积累,也是到了账户要收割的季节。因此在此阶段,应着重提升ROI的提升。
在提升ROI的时候,投放平台应尽量选择转化较好的渠道,冲销量阶段打开很多推广形式,站外推广定向推广,发现其转化率和ROI明显较低时,应果断关闭该渠道,而留下其他高转化高ROI的渠道平台。
从直通车生意参谋去看全店转化率高的时间段,高ROI的时段提高分时折扣,低ROI的时间段,降低分时折扣,或直接关闭不投放。
在投放地域方面,我们应根据计划报表的累积地域数据和主要成交词的流量解析里面,找出高转化高ROI的地域,从而进行投放,同时关闭低转化低ROI的地域。
在创意标题方面,我们应尽可能的把成交关键词放到创意标题中,以提高成交词的相关性。取代非成交词在创意标题中所占用的位置。
在创意车图方面,我们应最大限度的利用好四个创意图。分别可针对买家关注的卖点进行相应的制作车图,从而达到提升转化和ROI。买家最关注的卖点往往可以通过评语找出。
在关键词优化思路方面,我们应对现有的成交词进行拓展延伸,加入更多的与成交词匹配度较高的其他拓展词。另外,我们可以从生E经生意参谋后台找到其他搜索成交词,一并加入到计划中,以增加成交词的比重,从而达到提升转化和ROI,直接删除非成交词。
前期:主要是对宝贝进行引流,通过对宝贝关键词行业的分析,对行业趋势呈现上升的关键词进行优化,逐步为其引进流量;同时也通过宝贝的人群搜索这些途径为宝贝引流;账户的流量逐步进来了之后,账户的ppc有逐步上升的趋势,主要是宝贝的点击率相对较低;
中期:宝贝的流量进来之后,就考虑到宝贝的点击率这方面了。大家都知道,只有宝贝的点击率上去了,关键词的质量得分才能上去了,同时ppc才能逐步下降的。这边结合宝贝的数据反馈,针对宝贝中点击率高的关键词进行优化;同时也通过对点击率高的关键词进行分析,对宝贝的创意标题进行修改,并对不同类型的图片进行测试,直到宝贝的点击率上升为止。
后期:宝贝的点击率上升了,接下来就是要维持好宝贝的点击率,这样才能让账户更加好。这不仅仅是对关键词进行了优化,同时要对账户个方面的数据进行分析,比如账户的地域报表、站内站外、移动端等多方面的数据,并结合这些数据,对账户做进一步的调整。
我觉得开淘宝店的人,一定要有一个互相交流学习的圈子,不管是获取最新的行业动态,还是最新的操作方法,交流和学习都必不可少。如果只是一个人闷头做,是很难把淘宝店做好的,为此我建了一个群:753,574,492。这个群里都是学习电商的人,有很多人和你交流店铺运营经验,也有大牛每天分享店铺运营技巧,不需要你付出什么,只要你是真心想学习的就足够了。
在关键词匹配方式上,我们应根据关键词的具体表现做出相应的合理设置。维持ROI的同时控制点击率。因为点击率是维持PPC的关键。
搜索人群方面,相信对搜索人群研究颇深的车手应该非常明白,搜索人群对于提升ROI会起着极其重要的作用。搜索人群也是提升账户ROI最直接有效的工具,根据对高ROI的人群标签进行高溢价,对低ROI的人群标签低溢价甚至不溢价的方式,可以快速的提升ROI。
因为我们都知道,搜索人群中的成交高精准人群,无论是从点击率还是转化率都会比普通点击的买家有着更高更好的表现。
看到这里,大家基本上已经知道影响ROI的基本因素。降低ppc的过程中一定要尽可能的维持点击率,同时优化产品自身,详情页、DSR、评价、客单价等,稳定宝贝的一个转化率。
直通车是我们淘宝的付费推广工具,如果使用得当那么是能够帮助我们去快速帮助店铺发展的,相反使用不当那么就是劳财伤身了。所以怎么去开好车,怎么成为老司机是你 在开车之前必须 要懂的,首先从直通车ROI的定义出发,以此来研究怎么去提升ROI。
直通车ROI的定义是:投资回报,也就是投入产出比(以下公式应用数据是直通车数据,大家不要拿店铺数据来进行推算)
ROI= 销售额/花费=转化率*客单价/PPC(平均点击单价)
那么从公式中,我们看就可以直观的看到影响ROI的是转化率,客单价及PPC,一般店铺的客单价是比较稳定的一个因素,只有到了换季的节点,才会出现幅度的增涨所以要想提高ROI,我们先不妨提高单品转化率及降低单次点击PPC
一.提升单品转化率
1. 你的店铺/产品详情是否到位,能否让消费者产生购买的欲望
2. 产品详情解说的全面的吗?我们发现被解说的越全面的单品转化率要高于一简而过,比较简单详情的单品
3. 有促销噱头吗 ?有让客户觉得现在下单是最合适的吗
4. 第一线工作岗位客服对产品是否专业,服务态度是否热情,
5. 超棒的客户体验,产品质量过硬,不然隔三差五的出现差评,能力在强的运营也顶不住
6. 商品吸引力:产品需求度、价格优势、产品描述、促销/营销/礼品、、、种种的吸引力,都是以营销为中心,营销做的好,客户跑不了
7. 流量质量:[流量来源:口碑客户、搜索引擎、站外,流量质量,代表着你的流量是从什么地方来的,导致你的转化不成功的因素之一
8. 品牌程度:产品品牌、企业品牌、网红品牌。这三大块,是指你的品牌程度,是去到什么位置。品牌展现,可以解除买家对产品的保障问题,这就要你把品牌的硬实力展现给消费者,让消费者得知才能更放心的支付成交了
二.从关键词角度,如何提升ROI
PPC即直通车平均点击单价,是由关键词被搜索,被点击产生的一种花费. 那么我们可以这样理解,关键词搜索代表着消费者的需求,成交关键词代表符合消费者的最终目标,那么如何选款,选什么样的词也就直接决定了我们的PPC与ROI,当然影响PPC还有其他很多因素
如何选词呢,选词的常用方法与路径已经毫无秘密所言,这个选词的文篇随处一搜都有一大把,这里就大致列几点比较实用的方法:
1. 列出商品关目的相关关键词
2. 针对商品属性词进行组合
3. 直通车系统推荐词及搜索词
可以利用EXCEL表格进行组合,选择适用自己产品的精准词,这样不但有利于避开激烈竞争外还有利于培养账户权重,选款的方法比较习惯用的是,经验选款,行业选款,数据选款,但无论怎么选款,最终定款是需要几项数据支撑的.
点击量:点击量多少代表宝贝花钱的一种能力,直通车的本身就是花钱引流,钱花出去,流量也就来了,有流量了才会有后面的故事!
点击率:反映了买家对这款产品的兴趣度,点击率越高的产品更加容易获得点击量.点击转化率:反馈的是消费者对这款产品的认可度,转化越高的产品得到的推广反馈数据也是越优秀的,也会更加容易成功,达到事半功倍的效果
如何优化推广中的关键词:
1.展现量少,点击率高的词,提高出价
2.展现量大,点击率低的词,质量分高的词降低出价
3.删除7天无展现,14天无点击量的词从点击反馈上优化关键词
4.点击转化率高,ROI高的词提高出价
5.点击转化率一般,ROI偏低,降低出价,保证ROI盈亏平衡
6.点击转化率长时间为0时,删除关键词
三.从战略层面利用公式提高ROI:
1. .什么样的词抢首屏? 抢首屏的词一定具备,高点击,高转化
2.什么PPC价位,才能够保得住ROI?什么点击转化率水平,可以出高价抢第一页?(产品利润10元,点击花费1元,单品转化10%)这个公式刚好不亏本,大家可以根据自己的实际情况参考公式进行出价。
3.理解ROI公式,找出ROI盈亏点 ,ROI=转化率*客单价/点击花费,盈亏点=客单价/毛利(产品客单价80成本20,80-20=60,80/60=1.33,ROI在1.33以上的情况下,你的直通车怎么投都是不会亏的 )
4.明确现阶段直通车目标,点击量,PPC,ROI指标?(根据以上的公式和自身的情况定计划,这里不多说)
四.如何降低PPC
PPC=下一名的出价*下一名的质量得分/自己的质量得分+0.01
从这里我们得到,最终影响到自己实际扣费的是关键词质量分,那么就如何提升关键词质量分就成了大家操心的问题了.
质量分由三部分组成,相关性,创意质量,买家体验
相关性:这里指的是,所推关键词与推广宝贝的相符合性,及宝贝与消费者的购物意图的匹配度,及产品与所在类目与属性的相关性,这点只要大家发布宝贝时,类目没放错,关键词不是乱添加的基本是没多大问题.
创意质量: 就是推广图片的点击率,我们在做推广图片时要注意以下几点
1. 图片清晰,主体突出 卖点明了
2. 背景简单,无过多的牛皮癣
3. 促销适中,美工时间不够或设计灵感不强的话,可以通过参考本行业的优秀创意图片,可以通过钻展智库,直通车车位首屏推广图借鉴参考.
五.如何通过培养账户权重,提升质量分
1.养词法; 培养账户权重期推广关键词3-8个为最佳,关键词所属层级为3-4层级,同时全网的平均日点击量不低于100个
2.卡位法:在每日预算有限的情况下,做到每天在某个时间段,关键词的排位是足够靠前的
3.创意图片;轮回交替,维持2天更新创意频率保持3张创意图片在线 轮播测试,留下点击率最高的推广图
4.投放平台;前期以无线推广为主,做高点击率,养好账户权重.
5.投放时间:避开行业主搜高峰时间段,在搜索低迷期提高溢价能力,确保拿下靠前车位
6.投放地域:为了保证流量精准性高,减少不必要的花费,尽量把有限的预算花在恰当点击上,投放地域可不必过多,选取行业搜索转化率前5的省份即可.如果产品地域性较集中的话,那么屏蔽自己所在地.
以上只是给直通车新手的一些建议和方向,如果想要做好还是需要一步步的实操技能来支撑的,所以你必须 对淘宝有 一个系统的认知和操作能力。另外对于一些新手卖家,如果你前期的店铺权重,数据都没有做好,自然搜索流量几乎没有。那么不建议你 开车。效果不大。
不管是对于新手新店还是老店而言,自然搜索流量都是我们最应该重视的方向,你要记住,直通车只是一个工具,不能成为你的依赖。所以老花这些年重点研究和侧重的也都是自然搜索流量。对于学员们倡导的也是自然搜索。就好像我这个做家具的徒弟
五月份走的一直是自然搜索 和部分手淘流量。适量用淘宝客推下。基本没开车。直通车花费 为0。
六月份也是一样的自然搜索,走少量淘客。直通车花费整月 花费349。
所以各位,长点心吧(案例真实可查,都是我社群里的学员)
关于“花和尚”:
死磕电商十六年,打工近十二年;2012年尝试淘宝创业至今,母婴/护肤品/小家电类目卖家。2016年开始自媒体创作,向世界分享个人亲身经历、见解、知识;2016年10月拓展“电商系统培训”,以自营项目TOP50店铺的实战经验为根本,整理一套完整的、高效的淘宝实战课程,帮助淘宝卖家快速成长、少走弯路!
如果你感兴趣,可以给我私信“学习”或者“vip课程”,我会免费送你一些《VIP弟子特训课程》,相信你一定会受益匪浅。
如果你是淘宝卖家,可以加入我创建的千人卖家社群一起学习、交流、探讨(无广告);私聊我回复“社群”,即可获得入群方式!
如果觉得我的分享内容不错,敬请“赞”!“评论”!“转发”“关注”!
如果觉得我的分享内容不错,敬请“赞”!“评论”!“转发”“关注”!
如果觉得我的分享内容不错,敬请“赞”!“评论”!“转发”“关注”!
我总结一下几个要点:
1、店铺选款:在店铺宝贝数据反馈的基础上选择宝贝。如果条件允许,尽量分开做,便于后期操作。
2、流量提升:通过阶段性分化,一个周期一个周期来做,一步步提升流量。同时,做好其他指标的把控,不要操之过急或漫无目地优化。
3、周期性优化流量入口:根据数据反馈的店铺情况,对关键词和定向、站内、PC端和无线端等各个方面进行周期性优化,投放时间和投放地域也要周期性优化。
4、店铺直通车优化方向:采取先整体,再细化,最后回到整个店铺的优化思路,中间根据具体情况做及时处理。
我用语音输入法来回答这个问题,所以标点符号可能会有一些奇怪。我没有更多时间慢慢打字告诉大家这些干货爱信不信,听不听得懂看造化,上面是我做的数据。
我要说的这个事以下观点。
不要单纯只看直通车的roi
我现在告诉大家一个概念——全店roi
如果你认为直通车是提高roi为根本目的的话你就过于狭隘,也过于初级。
想通过直通车来盈利真的很难除非在某些毛利极高的类目。
我们的根本目的一定是通过直通车来带来更多的面,费流量。包括搜索核桃内免费其他。以及淘宝首页。
一定要认清这一点!
所以核算直通车的Roi的时候要。核算他所带来的所有的免费流量,以直通车本身带来的总的成交金额去与花费相比。
另外还有一个概念我们都知道有一天投入产出比,三天投入产出比七天头产出币15天,投入产出比。那么你想没想过,有没有。365天,投入产出比。
现在你能明白我的意思了吗?
题主的这个问题永不会过时,看了大家的回答,每个人侧重点都不同,有些内容是永不过时的,然后直通车每年更新频繁,针对优化ROI的目的,也有几个特别的更新,但这篇文章要照顾到很多小白,所以从原理和基础回答。
开车的目的
开车前先要明白开车的目的是什么,这是很多新人从没想过的,导致每天扣好几百,却一点效果没有,不仅没有成交,连流量也没做起来。看下图!
我们最终的目的都是希望光靠直通车就能实现盈利,但不积跬步,无以至千里。要想达到这个阶段,必须把基础打牢。
这里有个公式,可以算出ROI高于多少时,你的直通车在盈利。
明确目的是日常销售赚钱后,我们关注下ROI的公式:
要提高ROI,一是提高成交额,二是降低PPC(点击花费)。
与ROI有关的因素
提高成交额,与市场、产品、内功有关,这些做不好,光靠直通车不可能赚钱。
在市场、产品、内功都很优秀的情况下,我们再说直通车如果赚钱。
日常销售直通车推广阶段
在提高点击率阶段,选好潜力宝贝,加入直通车后:
1.一定要先测图,80%直通车点击率起不来的原因出在车图上,一个计划单个宝贝最多测4个图,所以一般大家就测4张图,结果发现没好的,所以我建议至少16张图,测4轮,选出高于同行点击率至少1.5倍(最好2倍以上)的图片。具体测图方法,以后再说,有想提前知道的朋友私信我。
2.精准关键词选择,关键词加入直通车后,大家一定会注意到有个质量得分,质量得分关系到你的扣费,公式如下
关系到质量得分的因素有两个:
一是创意质量,二是相关性,一般我们先优化相关性,可以最快的提高质量得分。
2.1关键词最优类目是否与你的宝贝类目相符,如果不相符,相关性不可能一般低于4格,说明你的关键词最优类目与宝贝类目不符。
2.2创意标题里是否有你加进来的关键词,在类目正确的情况下,如果创意标题中没有完全包含这个关键词,它的相关性就是4格
在相关性满格的情况下,优化创意质量,与创意质量最相关的数据就是点击率,点击率超过同行2倍,并且在一定点击量的情况下,一般都会10分,甚至在相关性不满的情况下,上图就是一个案例。
3. 人群优化,现在直通车的人群丰富多样,新手没经验时建议全部相同溢价,过一段时间后,根据数据反馈,暂停点击率太低的人群。
自定义人群设置为二级标签,如图
4.地域优化,刚加入的新车,建议把偏远地区和海外去掉,其他地区都留着,收集一段时间的数据,然后看直通车报表,按点击率排序,把点击率太低的地区停掉
点击率优化完成后,再优化ROI,再回顾下导图。
扣费公式解读
最后说下扣费,并不是你出多少钱,就扣多少钱,这个大家应该都懂。
排名根据 质量得分*你的出价 这个值有关,这个值越高,排名越高
直通车最近的几次更新后,你的出价也不简单的只是你的出价了。
转化出价和抢位助手效果还不错,建议能开就打开。
大体思路就这些,其中涉及到的具体操作,无法在此一一说明,有想要沟通交流的朋友知乎私信我。
感觉有用,别忘了点赞,评论!!!
提高roi?这个问题其实问得太大了 仔细说的话 感觉篇幅太大。。。
首先你要搞清楚你的类目是什么情况 市场ppc什么情况 不是所有类目都是能做直通车的 也不是所有产品都依靠车的
你的类目市场roi如何 你的毛利多少
roi的高低代表着你的推广代价的高低 假如你的毛利是100% 那你roi做到1 那就是说明你账上基本做到不亏
依靠roi赚钱比较困难 但也不是不可能 前提是你准备做到什么规模
最后我说一句 直通车我个人认为只是一个推广工具
补充一下 你新手开车需要多看看市场是什么情况 不要直接怼 不同类目不同玩法
淘宝店做推广,掌柜的往往最关注的就是这个ROI,也就是投入产出比,每个掌柜都会去查看自己的ROI,计算自己ROI需要达到多少,我才能保证不亏本,但是直通车的ROI真的是掌柜们想象的那么简单的吗?除了最基础的计算方式之外,还有什么需要考虑进去的呢?当ROI降低的时候,我们又要做些什么工作来提高ROI呢?好了,小兴今天就来讲一讲直通车的ROI!
一、ROI的解释与意义
我们还是从原理入手,先把ROI的定义解释清楚。淘宝中的ROI是指投资回报率,也叫投入产出比。
公式:投入产出比(ROI)=总成交金额/花费。打个比方说:你花1元钱,带来10元成交,那么淘宝直通车ROI就等于10;如果你花10元钱,带来1元成交,ROI则等于0.1。
从这个公式我们可以看出,提升ROI无非两个方面,一是提升你的总成交金额,二是降低总花费。
另外容易让人忽略一点的是收藏,实际上收藏也是投入所带来的产出。今天我们没有是没有看到转化,但隔天之后,或者更久的将来这些收藏都会变成转化也说不定。最好的例子就是双十一,双十一前夕,不少账户转化是非常低的,但是收藏异常的高,这就足以证明在双十一当天一定会爆发,所以,收藏也是我们所需要关注的一个要点。
我们都知道,目前整体电商环境已远远不是以前的直通车流量红利期,想单纯靠直通车直接赢利的情况是非常困难的,也就是说ROI要做到大于盈亏点,是有相当难度的。但我们仍应不断提升ROI视为最重要的目标。因此,我们需要理性的看待直通车,而不应该认为直通车仅仅就是一个只会烧钱、只会靠卡位抢排名的工具,而是要合理有计划有理性的去提升ROI才为正道。
二、影响ROI的因素
了解了ROI的概念之后,我们就要去考虑下究竟哪些因素会影响到ROI。
CPC:关系到我们的投入
预算:关系到我们的投入
客单价:关系到我们的产出
转化率:关系到我们的产出
其实这几个因素之间也是环环相扣的,相同的流量下,CPC越高,我们的预算也需要相对应的加大才可以,当然这种情况下,如果我们的转化率和客单价高的话,ROI也可以很漂亮;客单价高的话,转化率相对会低一些,但是如果CPC低,投入低一些,ROI同样可以很好看。省油宝长尾计划,就是通过批量选取竞争不那么激烈的低价长尾词,去以更低的价格获得更多的流量,低价引流,对提升ROI有着不错的效果。如果预算有限,出价不想出的太高,或者希望开一个全店低价引流的计划来收获低价的流量,那么长尾词计划是非常好的选择。
掌柜直通车推广最不好的情况是什么呢?预算有限,CPC高,客单价低,转化率也低。这个时候我们又该怎么办呢?
三、ROI提升方法
(一)关键词优化
我们将关键词进行简单的分类:
低展现、高点击率的词;
低展现、高转化率(高ROI)的词;
高展现、低点击率的词;
高展现、低转化率(低ROI)的词;
过去3天无展现的关键词;
过去7天无点击的关键词;
过去15天有点击无收藏花费较大的关键词
然后针对性的进行调整,
1.提高出价
2.降低出价或者将匹配方式改为精准匹配
3.直接删除
(二)投放时间优化
大部分类目来看的话,下午3点前后和晚上7到10点左右是高转化时间段。
当然,我们应该具体类目具体分析,通过分析生意参谋的热门成交时间段,或根据主要成交词的高转化时间段,做好分时折扣的人工优化。高转化的时段提高分时折扣,低转化的时间段,降低分时折扣,或直接关闭不投放。
(三)投放地域优化
在投放地域方面,我们应根据计划报表的累积地域数据和主要成交词的流量解析里面,找出高转化高ROI的地域,从而进行投放,同时关闭低转化低ROI的地域。
(四)搜索人群
搜索人群是提升账户ROI最直接有效的工具,根据对高ROI的人群标签进行高溢价,对低ROI的人群标签低溢价甚至不溢价的方式,可以快速的提升ROI。因为我们都知道,搜索人群中的成交高精准人群,无论是从点击率还是转化率都会比普通点击的买家有着更高更好的表现。
(五)投放平台
投放平台应尽量选择转化较好的渠道,例如,当在冲销量阶段所打开的站外推广或定向推广,发现其转化率和ROI明显较低时,应果断关闭该渠道,而留下其他高转化高ROI的渠道平台。
(六)店铺运营
前面说了很多优化直通车的点,当然这些都是建立在推广宝贝的基础上的。直通车在优化的同时,店铺运营也要跟上节奏。产品卖点分析、店铺活动、产品关联、客户体验、老客户维护等等方式,都对于提高转化率有很大作用。
通过以上操作,我们就可以有效降低成本,并且增加转化几率。我们不能保证ROI百分百会提升,但是好的关键词在流量提升之后,一定也会有非常棒的效果。我们的思路肯定是正确的,未来的趋势无法预见,所以我们只能去进行这样的尝试。原理就是如此简单,只是我们需要适应复杂的变化,学会举一反三,最基本的东西,其实也就是最核心的。
当然啦,具体店铺具体分析,不同阶段的直通车有不同的需求,我们也要根据店铺具体情况去优化。各个掌柜也有自身不同的需求,有的需求确实是非常矛盾的,不能够同时达到,只能一步一步完成。不要妄想着直通车有立竿见影的效果,任何广告投入都是不可能在短时期内见效。
最后,祝各位掌柜们生意兴隆
提升直通车ROI的6个方法
淘宝店做推广,掌柜的往往最关注的就是这个ROI,也就是投入产出比,每个掌柜都会去查看自己的ROI,计算自己ROI需要达到多少,我才能保证不亏本,但是直通车的ROI真的是掌柜们想象的那么简单的吗?除了最基础的计算方式之外,还有什么需要考虑进去的呢?当ROI降低的时候,我们又要做些什么工作来提高ROI呢?好了,小兴今天就来讲一讲直通车的ROI!
一、ROI的解释与意义
我们还是从原理入手,先把ROI的定义解释清楚。淘宝中的ROI是指投资回报率,也叫投入产出比。
公式:投入产出比(ROI)=总成交金额/花费。打个比方说:你花1元钱,带来10元成交,那么淘宝直通车ROI就等于10;如果你花10元钱,带来1元成交,ROI则等于0.1。
从这个公式我们可以看出,提升ROI无非两个方面,一是提升你的总成交金额,二是降低总花费。
另外容易让人忽略一点的是收藏,实际上收藏也是投入所带来的产出。今天我们没有是没有看到转化,但隔天之后,或者更久的将来这些收藏都会变成转化也说不定。最好的例子就是双十一,双十一前夕,不少账户转化是非常低的,但是收藏异常的高,这就足以证明在双十一当天一定会爆发,所以,收藏也是我们所需要关注的一个要点。
我们都知道,目前整体电商环境已远远不是以前的直通车流量红利期,想单纯靠直通车直接赢利的情况是非常困难的,也就是说ROI要做到大于盈亏点,是有相当难度的。但我们仍应不断提升ROI视为最重要的目标。因此,我们需要理性的看待直通车,而不应该认为直通车仅仅就是一个只会烧钱、只会靠卡位抢排名的工具,而是要合理有计划有理性的去提升ROI才为正道。
二、影响ROI的因素
了解了ROI的概念之后,我们就要去考虑下究竟哪些因素会影响到ROI。
CPC:关系到我们的投入
预算:关系到我们的投入
客单价:关系到我们的产出
转化率:关系到我们的产出
其实这几个因素之间也是环环相扣的,相同的流量下,CPC越高,我们的预算也需要相对应的加大才可以,当然这种情况下,如果我们的转化率和客单价高的话,ROI也可以很漂亮;客单价高的话,转化率相对会低一些,但是如果CPC低,投入低一些,ROI同样可以很好看。省油宝长尾计划,就是通过批量选取竞争不那么激烈的低价长尾词,去以更低的价格获得更多的流量,低价引流,对提升ROI有着不错的效果。如果预算有限,出价不想出的太高,或者希望开一个全店低价引流的计划来收获低价的流量,那么长尾词计划是非常好的选择。
掌柜直通车推广最不好的情况是什么呢?预算有限,CPC高,客单价低,转化率也低。这个时候我们又该怎么办呢?
三、ROI提升方法
(一)关键词优化
我们将关键词进行简单的分类:
低展现、高点击率的词;
低展现、高转化率(高ROI)的词;
高展现、低点击率的词;
高展现、低转化率(低ROI)的词;
过去3天无展现的关键词;
过去7天无点击的关键词;
过去15天有点击无收藏花费较大的关键词
然后针对性的进行调整,
1.提高出价
低展现、高点击率的词;
低展现、高转化率(高ROI)的词;
2.降低出价或者将匹配方式改为精准匹配
高展现、低点击率的词;
3.直接删除
过去3天无展现的关键词;
过去7天无点击的关键词;
过去15天有点击无收藏花费较大的关键词
(二)投放时间优化
大部分类目来看的话,下午3点前后和晚上7到10点左右是高转化时间段。
当然,我们应该具体类目具体分析,通过分析生意参谋的热门成交时间段,或根据主要成交词的高转化时间段,做好分时折扣的人工优化。高转化的时段提高分时折扣,低转化的时间段,降低分时折扣,或直接关闭不投放。
(三)投放地域优化
在投放地域方面,我们应根据计划报表的累积地域数据和主要成交词的流量解析里面,找出高转化高ROI的地域,从而进行投放,同时关闭低转化低ROI的地域。
(四)搜索人群
搜索人群是提升账户ROI最直接有效的工具,根据对高ROI的人群标签进行高溢价,对低ROI的人群标签低溢价甚至不溢价的方式,可以快速的提升ROI。因为我们都知道,搜索人群中的成交高精准人群,无论是从点击率还是转化率都会比普通点击的买家有着更高更好的表现。
(五)投放平台
投放平台应尽量选择转化较好的渠道,例如,当在冲销量阶段所打开的站外推广或定向推广,发现其转化率和ROI明显较低时,应果断关闭该渠道,而留下其他高转化高ROI的渠道平台。
(六)店铺运营
前面说了很多优化直通车的点,当然这些都是建立在推广宝贝的基础上的。直通车在优化的同时,店铺运营也要跟上节奏。产品卖点分析、店铺活动、产品关联、客户体验、老客户维护等等方式,都对于提高转化率有很大作用。
通过以上操作,我们就可以有效降低成本,并且增加转化几率。我们不能保证ROI百分百会提升,但是好的关键词在流量提升之后,一定也会有非常棒的效果。我们的思路肯定是正确的,未来的趋势无法预见,所以我们只能去进行这样的尝试。原理就是如此简单,只是我们需要适应复杂的变化,学会举一反三,最基本的东西,其实也就是最核心的。
当然啦,具体店铺具体分析,不同阶段的直通车有不同的需求,我们也要根据店铺具体情况去优化。各个掌柜也有自身不同的需求,有的需求确实是非常矛盾的,不能够同时达到,只能一步一步完成。不要妄想着直通车有立竿见影的效果,任何广告投入都是不可能在短时期内见效。
提升直通车ROI我们该来如何优化,有很多卖家却不知道要做什么?怎么做?优化
哪里?要做到什么样才会有效果?
今天的分享将会围绕以上的几个点来讲解,精简干货重点,简单易懂,教大家如何有效提升ROI。
一、如何有效提升直通车关键词的质量分
以往在很多直通车大神分享的帖子中都会提到,提升直通车关键词质量得分的前提是提升关键词的点击率、提升投
放素材的点击率、优化属性标题描述和创意标题及关键词的相关性。
这些直通车大神没有误导大家,分享的都是货真价实的干货。而我今天想要为大家补充一点非常关键的因素:计划
权重
计划权重:指在直通车里面创建的多项计划中,某单个计划内的权重累计。(每个计划的权重不同)
上边这个截图,就是5个权重完全不同的直通车投放计划
大家在以往的直通车操作中应该都有见到过下面这两种现象:
1、将同一个店中的同一款商品放到直通车的两个推广计划中推广,用的同一个关键词、同一个素材、同一个创意
标题。放到不同的两个推广计划里面得到的分数不一样了,有一个计划里这个词是9分、有的计划里这个词却是5
分。
2、将同样的一款商品发布到两个店铺中,编辑同样的属性、同样的详情页、同样的标题、同样的直通车创意标
题、同样的素材、同一个关键词。最终发现两个店直通车计划中的同一个词分数不一样了,一个是8分、一个是5分。
其实造成这种结果就是因为计划的质量不一样。利用计划质量来提升质量分是一个很强的直通车优化技巧。
不好意思,啰嗦了半天,精简……精简…精简.精
提升质量得分的最简单粗暴的方式就是做好推广计划的点击反馈。
点击反馈包括:点击率、点击转化率、点击产出回报率、收藏率、加购率、直接成交、间接成交
做好点击反馈,你的推广计划权重自然就起来了,就不必担心推广关键词分数低了
二、降低访客点击CPC成本
老司机知道,想提升直通车ROI就是两条路。一是降低访客点击CPC成本、二是提升访客点击转化率
时常会有同学说自己的访客成本比同行高、自己的访客成本比均值价位高、自己的访客成本怎么养都不降低
有的类目可以将访客成本降低到5分钱至3毛钱之内,有的类目却做不到。
我在这里想对各位车友说,不要羡慕别人的点击花费低。每个类目的差异很大,只要你能想办法做到不比别人的点
击成本高,确保产出ROI不亏损,那你就放心的投放吧,不要和周公下棋了。
不啰嗦了,精简……精简…精简.精
其实降低访客成本并没有大家想象的那么难,是各位车手把问题想难了。
上图数据我虽然选择的数据时段是7天数据,但实际是昨天下午15点半分上的计划,投放到晚上24点,实则是9个小
时的数据。
细心的卖家会发现,这些关键词被系统提示“计算机排名-无展现”、“无线排名-无展现”,但是却得到了展现量,也得
到了点击率。一些新车手会觉得这太恐怖了,竟然还有转化成交、还有应该不亏损的投入产出比。
其实这没什么,这也是低CPC引流的一个常规知识。大家只要别去相信直通车的提示,那你就成功了。也不是说所
有的提示都不相信,我的意思是不要相信他提示的无展现。因为他提示的排名前三、移动4-6、移动7-10、11-15,
都是模糊的,没有明确的说是上海地域、还是陕西地域、还是黑龙江地域、还是西藏地域、还是内蒙地域、还是细
化到某个城市,所以大家不用在意系统提示的排名和无展现。大家只要观察展现量数据即可
另外只要确保我们用的关键词是和推广产品吻合的,顾客搜索这个关键词就是在找我们这款产品,只要我们做好产
品质量、做好客户服务、确保发货速度、维护好问大家和买家评价,最后我们还愁顾客不转化嘛?我们还愁没有销
如何提高直通车的ROI,是每位直通车卖家的烦恼。ROI(Return On Investment)的定义是,通过投资而应返回的价值,即掌柜在直通车的投人产出比。 据计算公式ROI=利润投资x100%可得直通车中的ROI=花费直通车销售金额,而直通车销售金额=点击*转化率*客单价,花费=点击*平均点击花费。最后可以推算出算出:直通车ROI=客单价*转化率/平均点击花费。
所以要提高直通车ROI,主要可以通过提高转化率和客单价。降低平均点击花费这三个维度来实现。下面来分享一个提高ROI的成功案例。
开车前:抓好“关键” 根据掌柜的推广需求和店铺的情况来分析,我们初步挑选出了需要推广的宝贝款式,之后,在挑选好宝贝的关键词。这里介绍几种常用的关键词挑选方式。
关键词的选择 系统推荐关链词最简单、最方便也是目前使用率最高的选词方法。可根据系统推荐结果的相关度、搜索量和市场平均出价三个指标挑选合适的关键词。同时还需要注愈查看关键词的质量得分是否符合宝贝本身的情况,如果质量得分比较低或者差,则需要考虑替换或者删除。
相关词查询可以通过自己输入关键词来查找系统推荐的相关词,使用方法和注意事项和系统推荐类似。这种选择方式发散性比较强,可以根据自己想到的属性来查询,往往会有很好的效果。
搜索下拉框淘宝搜索框中下拉取词,这部分关键词一般是比较热门的关键词,流量相对较高,但是词量较小。
淘词-数据魔方数据魔方专业版淘词功能,提供了行业内热搜的丁OP关键词和近期服升关键词。是目前所有选词方法中参考指标最全面的,包括了搜索人数、搜索次数、点击次数、商城点击占比、点击率、成交笔数、转化率、直通车点击价格等一系列指标。
5w关键词表选取全淘宝网搜索量最大的前5万个关键词,这些关键词的搜索人数占一半以上,曝光率极高。组合关链词通过宝贝的标题和详情提取属性词和产品词,再通过excel或者组合工具批量组合关键词。
运用到数据魔方专业版里面的宝贝标题诊断功能可以大概检测出宝贝标题是否含有搜索量大或者热门的相关关键词,这对宝贝的自然搜索和直通车推广都有很大的帮助。
首先来看几个公式:
ROI(投入产出比)=成交金额/花费
成交金额=客单价*成交笔数
成交笔数=点击量*点击转化率
成交金额=客单价(点击量*点击转化率)
花费=点击量*平均点击花费
简单换算一下,
ROI=客单价*点击转化率/平均点击花费
如何提高ROI?
可以从数学公式角度理解,
题主在面对 ROI 问题的时候,不知道如何下手,很大程度上还是因为没有完整地操作过一套标准的流程,当有了一套动作之后就会发现,数据上的优化和调整并不难。
投入产出比,是验证我们推广是否有效的一个结果,因此,我们应该把投入产出比当做分析的一个概念,然后以投入产出比来决定你的关键词是否加价或者是降价。
当我们打开直通车的报表之后,该如何针对关键词进行加价或者是降价呢?
这里有参考的维度,第一个是点击转化率的高低,第二个是排名的高与低。
如果点击转化率比较高的情况下,ROI也比较高,排名比较低,我建议的是可以适当往上加价;如果点击转化率比较高,ROI也比较高,排名也比较高的情况下,我的建议又是什么呢?我的建议是要考虑直通车是否影响你的自然搜索排名了,因为在移动端上,自然搜索的排名靠前,并且你的直通车排名靠前的情况下,直通车会去重不展现这样的一个情况,因为移动端直通车第一名,它会对自然搜索前三进行一个去重,第二名,它会对自然搜索的前六进行去重,需要注意一下;如果同时点击转化率比较低,ROI比较高,那么,建议可以适当加价。如果点击转化率比较低,ROI也比较低的情况下,可以进行降价的一个调整。如果没有点击转化率的情况下,可以去删除。
关键词的转化,是验证人群的推广,是否有效的一个结果,它也就决定了这个关键词的去留。
比如说,当我们看到目前的点击转化率分别是7.86%,7.84%,突然有一个点击转化率是3.83%,通过这样一组数据呢,我们就可以考虑是否把这个点击转化率为3.83%的关键词进行删除。
直通车开了一段时间之后,我们会发现,并不是所有的地域都会有成交的表现。这个时候,我们需要打开地域报表的窗口,分别去查看有哪些地域是没有进行成交,没有给我们带来产出的,比如说我们通过这组的报表,发现,在云南和北京上,是没有产出的,通过这样的分析,我们就可以把北京和云南这两者的地域给关掉。
我们的访客也是有规律可循的,如果我们全天都按照同一个价格去出价的话,比如说,一个关键词出价是一块钱,如果我们要节省花费,一定是在流量高峰期来的时候,愿意出这个一块钱,而不是说流量非常偏低,比如说凌晨的时候我还会出一块钱去买这个位置,在花费上就有些浪费。
因此我们可以通过生意参谋后台里面的单品分析,访客分析来查看我们的流量曲线图,根据流量曲线图,去设置分时折扣,这样的情况下,就可以适当地节省我们的花费。
关于直通车,知道如何提高ROI,还只是基础的工作,后面需要做的还有很多。如果有不明白的,欢迎评论、私信一起交流。
当然,也不要忘记点赞。
当然,也不要忘记点赞。
当然,也不要忘记点赞。
商家必读!三分钟教你全方位提高直通车投产!
关键词:直通车 转化 人群
大家在平时的推广过程中,肯定或多或少的会遇到转化的问题,特别是一些消耗高,转化低的店铺,提升好直通车的转化率,对直通车的一个投产可以有一个大幅度的拉升,投产起来以后,不仅仅是对推广成本的一个降低,你还会发现自然流量和自然转化金额也悄悄提升起来了,那么小编就跟大家分享一下一些直通车推广中所用到的逼格技巧。
相信许多车手或者店主都对淘宝千人千面的展现有一定的了解,现在直通车也是如此,推广过程中不可能再像以前一样出高价去卡位,因为每个关键词背后都有不同的人群在,不同的人群自然效果也是不同的,当然我们在优化过程中,需要把控到的,除了人群、关键词、定向、推广图等也都是非常重要的。
一、店铺简介
店铺主要销售的产品是家装类的,比如说卫浴、花洒这些,是大概8月份左右接手的,之前店铺的转化率一直在1%左右,产品的客单价也比较高,一般大概是500-10000元,如果说能够把转化率有一个大的拉升,那么对投产的提升肯定也是比较大的,下图是上月的数据,点击转化率已经优化到5.98%接近6%了。
二、关键词
1、精准关键词
关键词是直通车非常重要的一个部分,因为这是我们在淘宝搜索框里输入的内容,直接代表了消费者的购买欲望,因此在前期选词时,一定要足够精准;建议是可以结合产品的属性以及特征来选择。打个比方,我要推广一款女装短裤,那么我们可以采用精准词+产品词的结合形式,比如黑色加绒短裤,尽可能做到关键词的精准。
在前期选词时,也需要注意到关键词的相关性,尽量选一些相关性比较高的词,保证好关键词的质量得分,我建议是先选质量分5分左右的词,因为关键词的质量得分三个影响因素相关性、买家体验、创意质量三个中,相关性是最容易把控的;另外选词过程中我们必须注意词的展现量,一些展现量非常低或者非常大的都需要特别注意,太低的可以直接删掉,比较高的则需要注意关键词的出价,防止一个关键词就烧光了整个计划的预算。
2、核心词
在前期选词以后,经过一段时间的测试,大部分关键词都会有自己的数据出来,这时需要进行关键词的一个筛选过程,对一些消耗高、转化低效果比较差的以及几乎没什么消耗,展现非常少的一些关键词进行删除,保留剩下的效果好的核心词,这部分核心词将会是以后直通车转化的主力军,所以一定要注意培养。
另外在培养的同时,也需要进行对新关键词的筛选,保持好直通车新鲜血液的流入,值得注意的是这批关键词的花费问题,不需要在他们身上花费过多的预算,因为我们已经产生了一批核心词,这批核心词才是我们消耗的主力,新词可以规划出20%的预算左右进行测试,同上面的步骤是一样的,一段时间后再次进行数据的筛选,只保留好的关键词,删除效果差的词,保证好直通车关键词这个部分的精准性,提升转化。
三、人群
1、系统人群
文章最开始就提到直通车的人群,这一部分和关键词是同等重要的。直通车系统会根据店铺数据推荐一些人群:淘宝首页潜力人群、优质人群、付费推广/活动人群、节日人群、同类店铺人群,这些人群的都可以进行测试。
每个店铺的人群和情况都不同,如果说没有足够的经验,千万不要凭自己感觉去进行人群的筛选,最好是每个人群都花预算去测试下,才会知道好的人群是哪些;测试出一个宝贝效果好的人裙以后,后面宝贝人群可以重点测试这个人群。
2、自定义人群
自定义人群这一块就需要根据店铺的情况去设置了,在生意参谋-流量-访客分析-访客对比,这里会对店铺人群画像有一个大概的展示,如果说没有更加精准的店铺人群数据分析时,可以参考生意参谋的这个数据进行设置。给大家展示的这个店铺主要面向的高消费的人群,所以我在直通车人群溢价这一块,会偏向高消费人群以及购物车人群,他们的整个数据反映也是比较好的。
四、定向
有开通定向的直通车最好进行定向这一块的测试,特别是一些店铺的PPC非常高的店铺,定向的ppc一般都是比较低的,但是在点击率方面就需要把控好,不同店铺的点击率差异很大。
有些店铺的定向效果尤其显著,特别是女装类,PPC低,点击率高,转化好;针对这样的店铺,那么我们只需要保证好关键词投放的精准,就可以把大预算集中在定向这一块,投产很快就可以有一个大的拉升。
五、创意
1.创意图
创意这一块,和关键词一样,是最直接接触到消费者的,买家在搜索了关键词以后,直接展现在他面前的就是创意图,因此图片一定要结合产品的卖点去打造,千万不要人云亦云,这样出来的点击率会很低;比方说我的产品卖点的价格低,质量都是和同行一样的,那么作图时候可以把重点放在价格这一块。
当然我们的卖点一定要真实,不要为了点击率做一些奇葩图,这样的图片出来以后,点击率是高了,但是转化率却低了,淘宝给流量不单单只会看你的点击率,转化率也是非常重要的参考要素。所以说要结合产品卖点去做,突然自己和同行不同的部分,把自己的竞争优势大方的展示出来,这样不仅仅是我们点击率的拉升,对转化率也有一定的帮助。
2.推广标题
很多店主对推广标题这一块不重视,就很容易失去一个提升关键词质量分的机会。标题前期测试出好的推广图以后,那么我们就可以加大对推广标题的测试,测试过程中可以筛选一些效果好的关键词、产品精准的属性词、店铺宝贝的成交词等等组合成不同的推广标题进行测试,后期再依据数据选择效果好的推广标题进行投放。
六、计划的基础设置
1. 分时设置
设置好宝贝的关键词、人群、定向、创意以后,计划的设置也是不能忽略的;在分时这一块的话,建议可以依据生意参谋-流量-访客分析-访客分布,查看过去30天店铺的成交情况,结合行业的情况对计划进行调整,确保好在店铺的成交高峰阶段,我们的可以有较好的排名情况。
2.投放平台
投放平台方面一般店铺建议是选择站内投放,主要投放还是在站内的无线端,PC可结合店铺的实际情况进行测试和投放。但是男装店铺尤其是ppc较高,预算较多的店铺建议可以小预算尝试下站外的推广,后期再依据推广效果进行调整。
3.投放地域
地域设置可以结合店铺情况去选择,一些偏远的地区可以斟酌好运费成本再选择是否投放,一些竞争力比较大的地区也可以选择性不投,一些预算较少的店铺可以结合生意参谋-流量-访客分析-访客分布,过去30天的访客数占比排行TOP10以及下单买家数排行TOP10来选择;预算较大的店铺最好可以多测试一些地域,一些偏远的地域投放效果也是不错的。
总结:
首先是关键词部分,建议前期可以选择精准的关键词进行测试,后期再挑选效果好的核心词重点投放,同时选择新词进行测试。人群方面也是需要进行测试,选择效果好的人群加大比例进行投放,效果差的可以依据预算小占比或者直接暂停;自定义人群方面建议结合店铺的人群画像来选择测试。
店铺的定向推广建议最好测试,需注意把控好定向的点击率,控制好消耗占比。创意方面,推广图一定要结合产品的卖点去做,打造店铺的特色,不要人云亦云,提升点击率和转化;推广标题也要重视起来,结合直通车好的关键词,店铺宝贝的成交词来选择,快速提升关键词的质量分。计划的基础设置这一块也要结合店铺的情况来设置,保持好计划的全天投放,提高产出。
//本文系广州大麦原创,转载请联系我们。广州大麦信息科技有限公司,正式成立于2011年,是国内领先的综合型电商解决方案提供商。提供大数据与分析、品牌全案、电商代运营、营销推广等服务,欢迎私信来撩大麦哥~
知识点普及:淘宝直通车到底是什么?
淘宝直通车适合人群:淘宝、天猫的专职卖家。直通车对于这部分人来说已经属于是标配,不存在有没有的问题,只有价格高低的问题。
收费方式:竞价。卖家需要选择与自己的宝贝相关性比较强的关键词,然后设置一定的价格,最低0.05元,最高99元,如果自己的宝贝被点击次数少就可以加价来获取更多的点击量,每次加价幅度为0.01元。
直通车优点:提高产品曝光率、精准投放、带动店铺销量。直通车相当于是花钱买广告,系统精准投放,用户看到广告点击链接进入,有的通过广告链接直接成交,有的进入店铺通过其它宝贝成交。
直通车扣费原理:
扣费=下一名出价*下一名质量得分/本人质量得分+0.01元(扣费小于等于本人出价和时间投放百分比之积)
所以质量得分越高,扣费越低。
影响直通车质量得分有3个因素:创意质量,相关性,买家体验。
创意质量的高低取决于计划的点击率,点击率越高,创意质量就会越来越高,最后达到满格。点击率影响因素与图片,直通车展示的位置,精选人群以及关键词是否精准符合产品有关。
直通车投放设置:
时间设置:直通车设置的选项非常多,可以设置在某一时间段的价格、是否开通等。在流量比较低的时间选择关闭直通车即可。
地域设置:宝贝适合在哪投放就选择在哪些地区开直通车。有些地区不能够包邮就选择不在该地区展示直通车即可。买棉衣、棉裤的选择不在海南地区展示即可。
直通车已经成为了卖家必备的选项,会用、合理的用会成为卖家获得更多销量与节省资金的技巧。店家一定要抓住平台变革的方向,掌握相关技巧,走在众多竞争对手的前面,寻求自己实现超越的良机。
一进来就看到有人在强调美工,好吧,都要开直通车了,是有必要好好搞下美工了,毕竟不是刚开始的阶段了。建议找个好点的美工,店铺整体风格把控一下,最起码要做到风格的统一,这点很重要!由于这块懂的不是很多,因此选择性略过。
其次,如何提高ROI的问题,这个跟很多方面有关,美工也是其中之一,当然更重要的还是各种运营的数据。
比如说你的展现量跟点击率分别是多少?点击跟购买的比例又是多少?你的出价是多少?排名的位置,这些都很重要!
展现量就是你有多少次展现,并不是越多越好,有时候反而是越少越好。主要是展现要跟点击连起来看的,点击过低展现过高的话,你的权重就会降低,导致相关性变低,然后就需要更多的钱才能有个好排名了,这点要注意。
其次就是购买,100个人点击,里边平均停留时间是多少?多少人最终购买?多少人点了就离开了?这些也都是影响你相关性的东西,简单说这些数值都低的话,淘宝就认为别人不喜欢你的宝贝了。
然后就是排名越高越好,出价高低直接影响排名,这两点我估计人人都知道!
好的主图和详情还有店铺风格,能对转化形成适当的加分,当然这也不是绝对的,毕竟设计的再好,别人也可能看不上你。因此记得宝贝的评价、销量、DSR评分都要跟着直通车一起做好,一个都不能丢。开直通车的阶段最好请个美工来给你整体把握一下店铺的风格的问题,对转化有很多好处的!
你先问自己几个问题。
1.产品属于标品还是非标?
2.你的产品在整个行业中到底怎么样?
3.你的产品价格上面有没有优势?
4.你的产品是否拥有其他竟对商家没有的整体解决方案?
当你弄明白这四个问题之后,后面的问题的是:
1.你产品的关键词写清楚了没有?分词和排序有没有尽量做到系统可判别情况下的最优状态?
2.主图做的怎么样?是否体现了产品特点?有文案否?搜索页面竞争时的视觉效果能否跳出?
3.该有的服务都有么?物流情况,运费情况,发货时长,保障条款。
4.详情页有深思熟虑过么?排版是否得体,移动和PC是否有分开制作,色彩运用上有考虑用户心理因素么?头部的吸引位置是否有专注产品痛点?整个逻辑在理想状态和显示状态上打开缺口?底部购买层可有再次击中痛点?
当你又弄明白了这四个问题之后,后面的问题是:
1.多渠道部署过程中是否有权衡每个渠道的流量占比。
2.UV和PV比例是否正常。
3.基础数据是否有过系统分析整理。
4.和你同一层级的竞争有无分析?
5.客服接待,产品评论,产品提问有无做到你能做到的最优?
6.是否开始拓展新渠道?
7.可有降维竞争?
当你考虑过这7个问题之后,后面的问题是:
1.周期性流量判断,是否进入瓶颈期?
2.竞争进入哪一个层级了?
3.近期排名变动与上一个周期有何不同?
等你多次考虑且落实这三个问题之后!你才会面对到这个问题:
是否应该使用站内的大竞争付费流量进行瓶颈期的突破!
也就是,你所问的,如何提升ROI。
在这之前,前面的所有问题,你可有仔细的斟酌过,考虑过?
当然了,还有一堆其他的复杂且让人头痛的问题。就不一一列举了。
恩,比较懒。因为我深信很多牛逼的产品和方法都是因为自己的懒,而逼迫自己用懒的方法做出来。
因为懒,所以也就只能做出这样擦着KPI边的数据了。
还有呢,关于你的问题。
我都不知道老铁你做的哪个类目啊,我咋知道怎么提高ROI啊,难道我要像别人一样给你说降低PPC?提高点击率?加词?测图?
你知道这些你也做不好啊。
如果非要说一个通用的有效的,那就是 +1 -1 亲测,屡试不爽。当然了,那个出价时间什么的还是要调调的。
最后,如果你不是头部商家,钻展这个东西轻易不要开…….如果没到腰部,直通车也别开了,当然了,瓶颈期时保护费该交还是要交的。
没有具体类目,我来说下女装店铺直通车提升ROI的关键点:
1.店铺风格
店铺风格为什么会影响ROI?
先来看两张直通车报表截图:
因为要对店铺保密,我就不把店名截出来了,
这是两家女装店铺最近30天的数据截图,上面的报表我们只看2个数据,直接成交笔数和间接成交笔数。
可以看出第一家店的ROI明显比第二家店好,
第一家是风格店女装,直接成交587笔,间接成交801笔;间接成交是直接成交的136%
第二家店不是风格店女装,市场货,走的单品爆款路线,直接成交1165笔,间接成交207笔,间接成交是直接成交的17%
这两个数据说明什么问题?
风格店能更好的利用流量!
也就是说,整体转化这块,风格店转化要比那些不是风格店铺的要好。
不仅仅是直接转化和间接转化能看出这个数据,其实从访问深度、跳失率也能看出来,风格店的数据是远高于非风格店的。
车手很多时候,能决定的,也就只有账户权重,转化这块是车手的瓶颈,很多时候,ROI不是单单一个车手能决定得了的,这是店铺本身的定位和风格的问题,
这也是很多人没能够上升到店铺定位的程度,他们永远把眼光局限于操作爆款,几天做到几万流量,所以他们永远都是小卖家,这些店永远进不了行业top。
有人可能要问了
我能不能通过优化宝贝详情页,优化描述,把访问深度和跳失率的数据做好,然后把间接转化做上去?
狗屁!
这些人还是没有分清主次问题,如果你是一个风格性很强的店铺,那么进来的人肯定会对你其他宝贝感兴趣。如果你店内本身宝贝就非常杂乱,他看完这款宝贝可能就走了。
我们把风格店分三类:
(1) 强风格店铺
(2) 弱风格店铺
(3) 没有风格的店铺
———————————————————————————————————————————-
(1)什么叫做强风格?
比如我之前给大家讲的那个中老年女装店铺就是强风格,由于我早就没在那家店上班了,我把店铺名发出来:升花旗舰店和suppod旗舰店
(之前我一个连载28天的直通车实操手记就是这个店铺,是在派代首发的,之后我会陆续将其倒腾到知乎)
同样的模特,同样的场景,全部是民族风的款式,这种店铺就是强风格店铺,间接转化会非常的好。
当时这两家店都是我和小郭两个人在操作,这类店铺小郭的直通车ROI都能做到3.7
当然,现在他们店铺风格有点乱了,模特不止一个,场景也多了,款式也不仅仅是民族风了。
再来看一家:爱来卡欧洲站
这个也是我的老东家了,欧洲站风格,同样的场景,同样的拍摄手法,同样的款式风格,这种店也是强风格!
以前是阿涛和我一起在操作,之前是在女装400多名。
它的直通车效果也特别好。
为什么好?
因为间接转化效果特别好!
上面给大家看了两家,欧洲站的,民族风的,都是强风格店铺。
我问下:
韩版算不算强风格?
———————————————————————————————————————————-
韩版不属于强风格!
韩版这个东西,已经没有明确的定义了,基本上随便在大街上拿一件衣服,都可以说是韩版,都可以把宝贝标题加上韩版2字。
买家不会去淘宝上面搜韩版的衣服,因为是个宝贝都能把标题写成韩版,带韩版标题的宝贝太多了,买家搜到的东西并不是他想要的。
那么什么才叫做强风格呢?
必须带明确的、精准属性的词
比如棉麻、比如真丝、比如夜店风、再比如森系
买家搜到的,是他想要的东西,这就是强风格,她进来之后会看你店里其他宝贝。
(2)什么叫弱风格店铺?
我先问下大家,市场上那些烂大街的款式能不能做成风格店?
我给的答案是:
可以!
为什么?
其实除了款式,能决定我们风格的,还有拍摄!
这里我不得不再拿出小谷粒的案例给大家讲,
他们家的货,市场上随随便便都能拿得到,他们店铺的风格很大众化,但是他们店铺也是属于风格店,他们同样的模特,几个固定的场景,固定的拍摄手法,让老顾客很容易记住他们,所以并不是需要款式一定是某个风格才算风格店。
他们款式风格性不强,太大众化,
这类风格店铺就叫做弱风格店。
也就是说,我们可以完全拍摄来打造一个风格店
这类店铺的间接转化会比强风格的店铺稍微差一点,
但是这类弱风格店铺的优势也很明显,顾客能记住它,下次去淘宝搜的时候一看的某个宝贝的主图,一眼就能知道是他们家的。这在直通车人群溢价这块优势特别大,一会儿我会给大家讲。
很多做市场货的童鞋,听完我刚才讲的,应该就知道怎么操作了。
这里顺便在说一下,小谷粒前段时间刷单被全店屏蔽,刷单我一直建议大家少刷,靠刷单做起来的店铺毕竟不长久,他们店铺卖得那么好还去刷单,我也是没想通!
(3)没有风格的店铺
这个没什么好讲的,现在市场上的分销、代销女装店铺,基本都是无风格店铺,
各种模特、各种场景、各种不同风格的款式、各种角度。
这类店铺直通车操作起来比较难,并不是他们直通车权重比较难养,而是他们转化往往跟不上,直通车只有直接转化没有间接转化,他们对流量价值的利用率不够,即便压到很低的PPC,ROI往往也好不到哪里去。
这类店铺适合操作单个爆款,他们对于转化率的分析也只能局限于单品的转化率,
小雨本人认为间接转化更重要,这是你店铺想做大的必要条件。
所以,还没布局风格的,可以开始布局了,当然,拍照要花钱,拍风格店更是要花不少钱,而且拍摄本身是有风险的,资金如果不充裕的情况下,还是玩单品吧。
1. 人群溢价
人群是提升ROI的一个关键点,
结合我们风格店来讲,
人群溢价对风格店铺提升是最大的。
先给大家看个例子,
直通车数据:
这款宝贝是我去年在推,
你们觉得这款宝贝的点击率能到5%吗?
我再问一下,
你们真的觉得这款宝贝的点击率能到5%?
这款宝贝点击率如何,其实你们可以把主图拿去自己测,但我估计点击率只有2%左右,
但是我为什么之前操作的时候点击率能做到5%?
因为有个东西叫做人群,
款式可以抄,但人群这个东西是抄不了的,因为你店铺根本就没有那部分人群!
我们以前主要的人群是:
已购买的,已收藏的,已加购的,已成交的;
这部分人群你有吗?
没有这部分人群支撑,数据就是渣渣!
我再说一下一个事实情况,
欧洲站风格的点击率普遍要比市场图低,包括我直接操作的民族风妈妈装点击率也偏低,这是风格店的一个劣势,你的拍摄不一定拼的过市场图,但是风格店最大的优势是人群溢价上的优势,风格店通过人群溢价完全能扭转这个点击率上的局势。
这款宝贝不开人群点击率只有2点几,包括我刚接手这个欧洲站店铺的时候,绝大部分的宝贝点击率都只有2点几。
但是人群开了之后,所有宝贝的点击率都上升了两个档次,看清楚了,是两个档次!
很多不开人群的宝贝,2点几的点击率,开了人群之后,直接上升到4点几,甚至5点几
这些很多人认为是垃圾款的宝贝,能低价做到大流量了,而且还能在3以上的ROI!这在很多人眼里是想都不敢想的!
但是切记一点,不要单纯的认为我们人群是为了拉点击率!这类店铺认知人群的转化率非常不错,我们做人群的主要目的是拉转化率,低出价高溢价的方式去过滤流量,一般转化率高的人群,点击率也会不错。
这款宝贝现在销量才100多件,去年一天就能卖100件,今年他们没推起来,很可能是他们没利用好人群这个工具。做欧洲站风格店铺的直通车,人群溢价是关键!
关于人群溢价的操作,我在以前的帖子已经讲得很详细了,我这里就不去重复讲了,还不明白的可以倒回去看看,【小雨直通车实操手记】第11天 人群溢价优化思路
3.测款
这是第三个关键点,前面说了,风格对一个店铺的转化是至关重要的,但并不是说你只要形成风格了,你直通车就一定开得好。
女装的直通车ROI好不好取决于款式
如果你觉得你直通车开得非常艰难,一定是款式没选到。
款式分四种,但是我们最终能推的只有两种:
哪四种款式,我先写下来:
1. 点击率好、转化率好的款
2. 点击率好、转化率差的款
3. 点击率差,转化率好的款
4. 点击率差,转化率差的款
第四种款式我想大家都不会去推,
我说下,只有前面两种能推,
第一种款式是爆款,我相信这是大家都喜欢的,记住,这里的转化率是指直接转化率,不是总转化率!
上面是一个女装风格店,可以看到它间接转化都不错,
上面的的一些款式,
第一款和第二款的转化率都不错,可能大家觉得都能作为主推款去打。
但是这里千万不要去看点击率转化率,我们这里把关注点放在直接成交笔数和间接成交笔数,可以看到,第一款直接成交笔数并不多。它并不能作为主推款去打,它转化率看起还可以是它的整体转化率看起还可以;但它的直接转化率低,它自己的销量就起不来;它销量如果起不来,它自然流量就进不来。
这种款就不能作为爆款来推,只能作为引流款。实际的情况是,第一款的销量也非常少。
第二种款式,
点击率低,转化率高的款式,作为引流款。
记住了,我这里说的转化率,都是指宝贝本身的转化率,不要把它间接的转化率算进来,宝贝本身的转化率我建议去看生意参谋里面的转化率,但我更希望你们去看加购率,那个数据比转化率更准!
引流款的作用是什么?
提升账户权重!
引流款主要靠间接转化来维持ROI
店内必须要有一些引流款,这样你主推款才能拿到更多流量。
权重这个东西看不到,它实实在在存在,
权重这个东西能让你直通车推广更顺手。
好了,既然大家知道了怎么选款,那肯定得知道怎么测款,
测款这块的操作,我相信大部分人都会,测款我就不去讲了,以前的帖子已经写得很详细了,实在不明白的,可以倒回去看看【小雨直通车实操手记】第6天 测款 车图 账户权重
记住了,女装是看款式的,直通车ROI好不好,款式绝对是核心,款式如果很烂,你人群优化得再好都没用,所以先去把款选好了,后面再优化人群;包括风格店也是,你选主推款的时候也会决定你店内最终的ROI,选款不要盲目的选,不要凭感觉选;必须要有数据作为支撑。
好了,今天的内容再回顾一下:
1.店铺风格对直通车ROI的影响
2.利用人群溢价提升直通车ROI
3.女装选好款来提升ROI
今天就说到这里,以后的话,不会每天更新,但我会不定期更新,谢谢大家关注